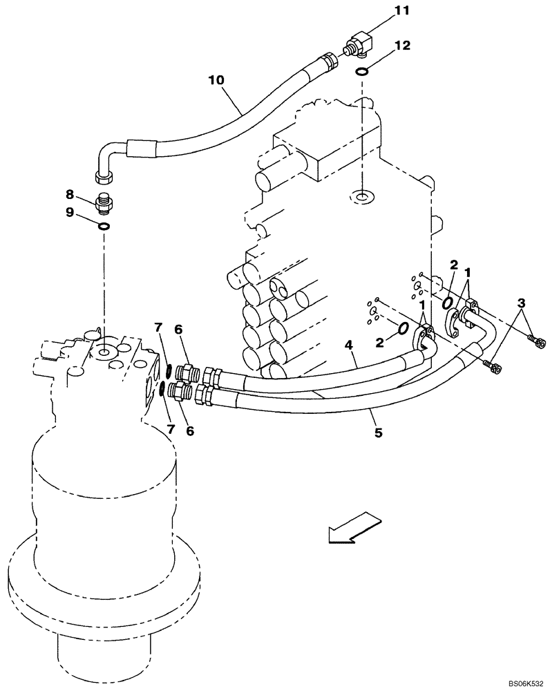
Запчасти Case CX240BLR (08-009) - HYDRAULICS - SWING (08) - HYDRAULICS

Схема запчастей Case CX240BLR - (08-009) - HYDRAULICS - SWING (08) - HYDRAULICS
4
1
6
7
2
12
10
7
5
6
2
8
11
1
3
9
FIT
1:1
100%

Артикул

Название

Примечание

Количество

1

153458A1

FLANGE

Split

4шт.

2

155210A1

O-RING

2шт.

3

862-10030

HEX SOC SCREW,M10 x 30mm, Cl 12.9

8шт.

4

KRJ10730

HYDRAULIC HOSE,19.00 mm ID x 570.00 mm

1шт.

5

KBJ10420

HYDRAULIC HOSE,19.00 mm ID x 730.00 mm

1шт.

6

151654A1

HYD CONNECTOR,3/4" NPT O-Ring x 3/4" NPT

Incl. 7

2шт.

7

154503A1

O-RING

1шт.

8

151655A1

HYD CONNECTOR,1" NPT O-Ring x 1" NPT

Incl. 9

1шт.

9

154523A1

O-RING

1шт.

10

KRJ10750

HYDRAULIC HOSE,25.40 mm ID x 650.00 mm

1шт.

11

157581A1

ELBOW,90 Degree, 1" O-Ring x 1"

Incl. 12

1шт.

12

154523A1

O-RING

1шт.

Выбрано товаров: 12