Запчасти Case CX240BLR (08-012) - HYDRAULICS - ARM CYLINDER LINE (08) - HYDRAULICS

Схема запчастей Case CX240BLR - (08-012) - HYDRAULICS - ARM CYLINDER LINE (08) - HYDRAULICS
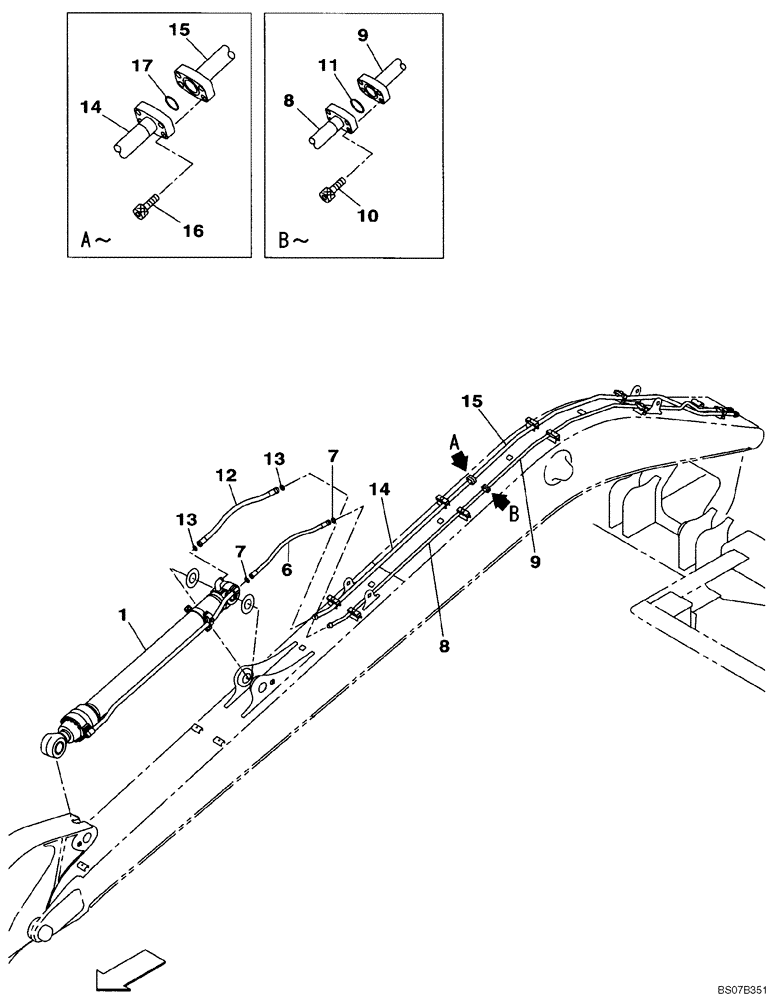
16
17
8
12
15
11
13
8
13
9
14
14
7
10
15
9
7
1
6
FIT
1:1
100%

Артикул

Название

Примечание

Количество

1

KBV18420

HYDRAULIC CYLINDER

Arm; See Figure 08-089

1шт.

1

KBV18420R

REMAN-HYD CYLINDER

CX240BLR CRAWLER EXCAVATOR TIER 3 (NA), Arm (3/07-)

1шт.

1

KBV18420C

CORE-HYD CYLINDER

Return Number

1шт.

6

KRV12780

HYDRAULIC HOSE,1000.00 mm

1шт.

7

KHJ1360

O-RING,0.07" Thk x 0.739" ID

2шт.

8

KRV2895

HYD TUBE,20.8 mm ID x 27.2 mm OD

1шт.

9

KBV16940

HYD TUBE

1шт.

10

862-10035

HEX SOC SCREW,M10 x 35mm, Cl 12.9

4шт.

11

154528A1

O-RING

1шт.

12

KRV2495

HYDRAULIC HOSE,25.40 mm ID x 1000.00 mm

1шт.

13

KHJ1361

O-RING,0.07" Thk x 0.926" ID

2шт.

14

KRV2894

HYD TUBE,26 mm ID x 34 mm OD

1шт.

15

KBV16950

HYD TUBE

1шт.

16

862-10045

HEX SOC SCREW,M10 x 45mm, Cl 12.9

4шт.

17

154548A1

O-RING

1шт.

Выбрано товаров: 15