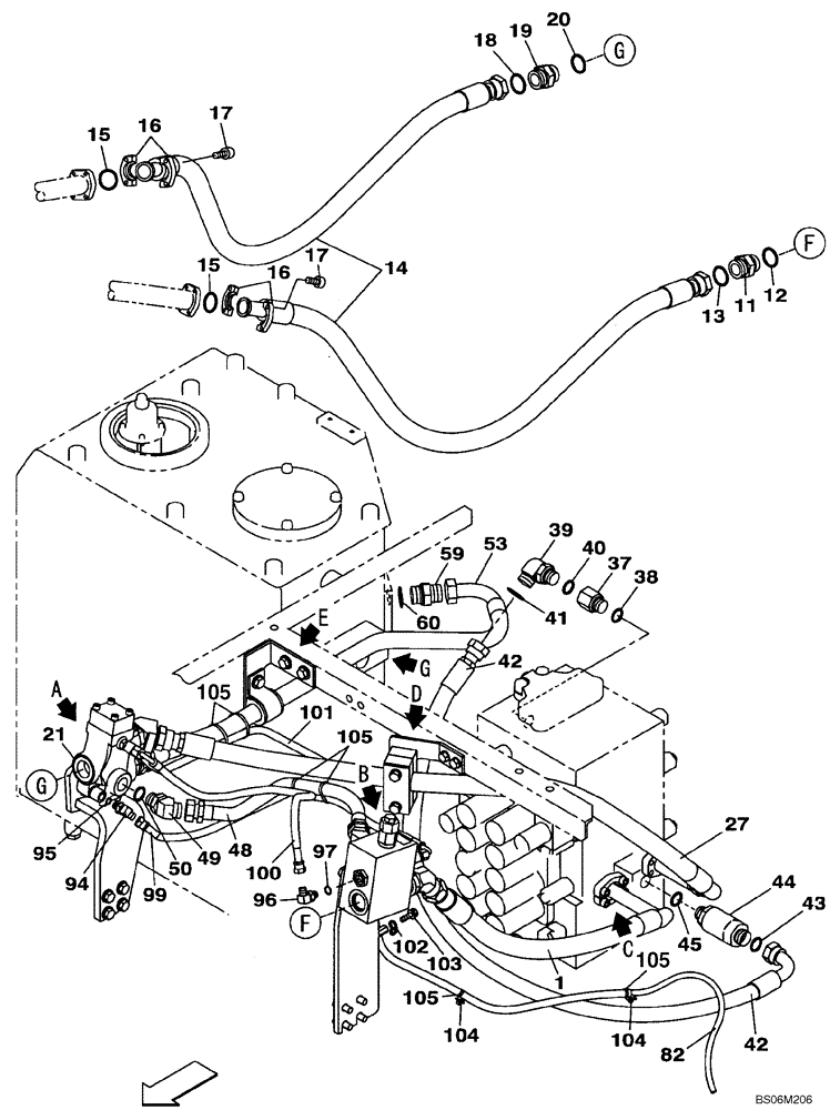
Запчасти Case CX290B (08-32) - HYDRAULICS, AUXILIARY - MULTI-PURPOSE + 3 WAY VALVE, PEDAL ACTIVATED (08) - HYDRAULICS

Схема запчастей Case CX290B - (08-32) - HYDRAULICS, AUXILIARY - MULTI-PURPOSE + 3 WAY VALVE, PEDAL ACTIVATED (08) - HYDRAULICS
105
102
48
18
53
42
50
60
21
45
17
13
49
19
14
27
95
96
99
40
94
37
105
42
1
101
17
44
39
105
97
59
103
16
104
41
16
82
11
15
100
43
15
20
38
104
12
105
FIT
1:1
100%

Артикул

Название

Примечание

Количество

1

KBJ12510

HYDRAULIC HOSE,25.40 mm ID x 1050.00 mm

1шт.

11

KHJ1349

ADAPTER

Incl. 12

1шт.

12

154523A1

O-RING

1шт.

13

KHJ1361

O-RING,0.07" Thk x 0.926" ID

1шт.

14

KBJ11790

HYDRAULIC HOSE,25.40 mm ID x 1550.00 mm

2шт.

15

164450A1

O-RING

2шт.

16

150124A1

FLANGE

Split

4шт.

17

862-14050

HEX SOC SCREW,M14 x 50mm, Cl 12.9

8шт.

18

KHJ1361

O-RING,0.07" Thk x 0.926" ID

1шт.

19

KHJ1349

ADAPTER

Incl. 20

1шт.

20

154523A1

O-RING

1шт.

21

KHJ10420

VALVE SECTION

See Figure 08-77

1шт.

27

KBJ11800

HYDRAULIC HOSE,25.40 mm ID x 1600.00 mm

1шт.

37

159198A1

ADAPTER

Incl. 38

1шт.

38

154503A1

O-RING

1шт.

39

KHJ1804

ELBOW

Incl. 40

1шт.

40

154503A1

O-RING

1шт.

41

KHJ1360

O-RING,0.07" Thk x 0.739" ID

1шт.

42

KBJ12520

HYDRAULIC HOSE,19.00 mm ID x 1250.00 mm

1шт.

43

KHJ1360

O-RING,0.07" Thk x 0.739" ID

1шт.

44

KHJ10480

VALVE SECTION

Incl. 45

1шт.

45

154503A1

O-RING

1шт.

48

KBJ13790

HYDRAULIC HOSE,740.00 mm

Replaces KBJ11820

1шт.

49

157586A1

ELBOW

Incl. 50

1шт.

50

154503A1

O-RING

1шт.

53

KBJ11830

HYDRAULIC HOSE,25.40 mm ID x 1220.00 mm

1шт.

59

151655A1

HYD CONNECTOR,1" NPT O-Ring x 1" NPT

Incl. 60

1шт.

60

154523A1

O-RING

1шт.

82

KHJ19010

HOSE

HOSE ASSY. ,Replaces KHJ14800

1шт.

94

150933A1

ELBOW

Incl. 95

1шт.

95

154467A1

O-RING,10.8mm ID x 2.4mm Width

1шт.

96

150913A1

ELBOW,90 Degree, 1/4" O-Ring x 1/4"

Incl. 97

1шт.

97

154467A1

O-RING,10.8mm ID x 2.4mm Width

1шт.

99

KHJ2088

HOSE

850 mm (33-1/2 in)

1шт.

100

KHJ2091

HOSE

1050 mm (41-5/16 in)

1шт.

101

KHJ2050

HOSE,6.3mm ID x 1000mm L

1шт.

102

KHR2584

CLAMP

1шт.

103

KHJ1215

BOLT,Spcl

1шт.

104

KHR10220

MOUNTING CLIP

2шт.

105

150496A1

MOUNTING CLIP

1шт.

Выбрано товаров: 40