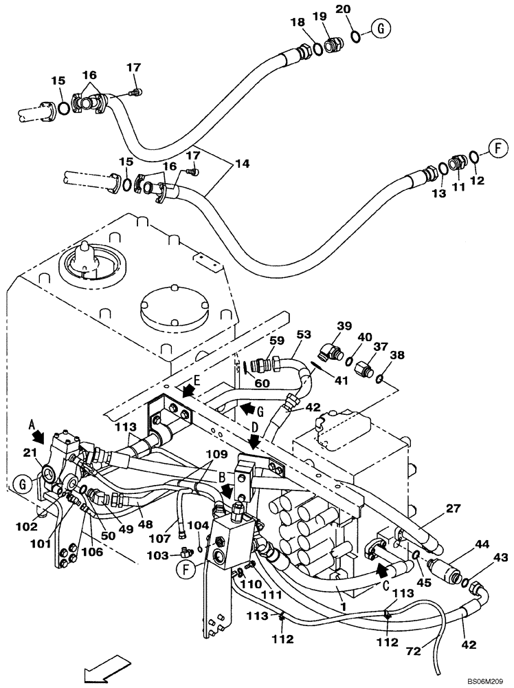
Запчасти Case CX290B (08-35) - HYDRAULICS, AUXILIARY - MULTI-PURPOSE + 3 WAY VALVE, TRIGGER ACTIVATED (08) - HYDRAULICS

Схема запчастей Case CX290B - (08-35) - HYDRAULICS, AUXILIARY - MULTI-PURPOSE + 3 WAY VALVE, TRIGGER ACTIVATED (08) - HYDRAULICS
111
13
42
11
41
103
38
112
106
16
15
21
48
17
50
27
113
101
45
14
12
53
59
72
18
102
40
107
20
60
113
44
104
16
112
39
110
1
42
113
37
109
17
49
43
15
19
FIT
1:1
100%

Артикул

Название

Примечание

Количество

1

KBJ12510

HYDRAULIC HOSE,25.40 mm ID x 1050.00 mm

1шт.

11

KHJ1349

ADAPTER

Incl. 12

1шт.

12

154523A1

O-RING

1шт.

13

KHJ1361

O-RING,0.07" Thk x 0.926" ID

1шт.

14

KBJ11790

HYDRAULIC HOSE,25.40 mm ID x 1550.00 mm

2шт.

15

164450A1

O-RING

2шт.

16

150124A1

FLANGE

Split

4шт.

17

862-14050

HEX SOC SCREW,M14 x 50mm, Cl 12.9

8шт.

18

KHJ1361

O-RING,0.07" Thk x 0.926" ID

1шт.

19

KHJ1349

ADAPTER

Incl. 20

1шт.

20

154523A1

O-RING

1шт.

21

KHJ10420

VALVE SECTION

See Figure 08-77

1шт.

27

KBJ11800

HYDRAULIC HOSE,25.40 mm ID x 1600.00 mm

1шт.

37

159198A1

ADAPTER

Incl. 38

1шт.

38

154503A1

O-RING

1шт.

39

KHJ1804

ELBOW

Incl. 40

1шт.

40

154503A1

O-RING

1шт.

41

KHJ1360

O-RING,0.07" Thk x 0.739" ID

1шт.

42

KBJ12520

HYDRAULIC HOSE,19.00 mm ID x 1250.00 mm

1шт.

43

KHJ1360

O-RING,0.07" Thk x 0.739" ID

1шт.

44

KHJ10480

VALVE SECTION

Incl. 45

1шт.

45

154503A1

O-RING

1шт.

48

KBJ13790

HYDRAULIC HOSE,740.00 mm

Replaces KBJ11820

1шт.

49

157586A1

ELBOW

Incl. 50

1шт.

50

154503A1

O-RING

1шт.

53

KBJ11830

HYDRAULIC HOSE,25.40 mm ID x 1220.00 mm

1шт.

59

151655A1

HYD CONNECTOR,1" NPT O-Ring x 1" NPT

Incl. 60

1шт.

60

154523A1

O-RING

1шт.

72

KHJ19010

HOSE

HOSE ASSY., Replaces KHJ14800

1шт.

101

150933A1

ELBOW

Incl. 102

1шт.

102

154467A1

O-RING,10.8mm ID x 2.4mm Width

1шт.

103

150913A1

ELBOW,90 Degree, 1/4" O-Ring x 1/4"

Incl. 104

1шт.

104

154467A1

O-RING,10.8mm ID x 2.4mm Width

1шт.

106

KHJ2088

HOSE

850 mm (33-1/2 in)

1шт.

107

KHJ2091

HOSE

1050 mm (41-5/16 in)

1шт.

109

150067A1

MOUNTING CLIP

2шт.

110

KHR2584

CLAMP

1шт.

111

KHJ1215

BOLT,Spcl

1шт.

112

KHR10220

MOUNTING CLIP

2шт.

113

150496A1

MOUNTING CLIP

1шт.

Выбрано товаров: 40