Качественные детали и логистика
Оригинальные и аналоговые запчасти с доставкой по России, Казахстану и Беларуси
©2022 PartSell ООО "Система" ИНН 2463123282 ОГРН 1212400004838
Центральный офис: г. Красноярск, Академика Киренского, д.87, пом.4
Телефон: 8 (800) 777-65-74 Email: zakaz@partsell.ru
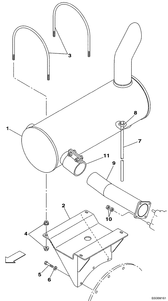
(02-04) - EXHAUST SYSTEM - MUFFLER
№
Артикул
Название
Примечание
Количество
1
KSH0948
MUFFLER
1шт.
2
KSH1037
SUPPORT
3
KHH11400
RETAINER COLLAR
Replaces KBH0850
2шт.
4
KHH11440
FLANGE NUT
Replaces 150472A1
8шт.
5
827-10050
BOLT,Hex, M10 x 1.5 x 50mm, Cl 10.9
3шт.
6
150409A1
WASHER
7
150668A1
TUBE
8
165952A1
MOUNTING CLIP
9
KSH1038
EXHAUST SYSTEM PIPE
10
153856A1
NUT
M10 x 1.25
11
KSH0951
COLLAR ASSY.
Выбрано товаров: 0