Запчасти Case CX290B (08-60) - KBJ12141 VALVE ASSY - CONTROL (08) - HYDRAULICS

Схема запчастей Case CX290B - (08-60) - KBJ12141 VALVE ASSY - CONTROL (08) - HYDRAULICS
79
35
18
80
58
38
30
33
32
39
78
93
66
80
79
35
78
34
63
77
79
34
61
34
19
77
33
36
98
79
38
30
56
35
57
35
24
66
33
76
59
21
32
76
79
36
35
63
29
20
31
23
73
90
66
35
31
22
55
37
26
37
36
25
17
92
FIT
1:1
100%

Артикул

Название

Примечание

Количество

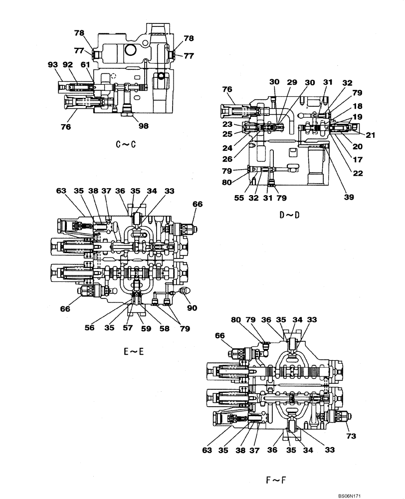
KBJ12141

CONTROL VALVE

Includes All Parts On Figures 08-57 - 08-62, Replaces KBJ12140

1шт.

17

LR015250

CAP

1шт.

18

NSS

NOT SOLD SEPARAT

Spool, Valve

1шт.

19

163393A1

SPRING SEAT

2шт.

20

LG00338

SPRING

1шт.

21

LPC0222

END FITTING

1шт.

22

154514A1

O-RING

1шт.

23

LK005690

PLUG

1шт.

24

154503A1

O-RING

1шт.

25

LG00339

SPRING

1шт.

26

LJ01122

VALVE, PRESSURE RELI

EF

1шт.

29

154483A1

O-RING

1шт.

30

153967A1

BACK-UP RING

2шт.

31

LJ00726

VALVE POPPET

2шт.

32

LG00340

SPRING

2шт.

33

LJ00727

VALVE POPPET

3шт.

34

LG00341

SPRING

3шт.

35

154539A1

O-RING

6шт.

36

LH00248

CAP

3шт.

37

163390A1

VALVE POPPET

2шт.

38

163394A1

SPRING

2шт.

39

LJ00731

ORIFICE

1шт.

55

LH004970

SPACER

1шт.

56

LH004980

SLEEVE

1шт.

57

160187A1

VALVE POPPET

1шт.

58

160242A1

SPRING

1шт.

59

LH004990

FLANGE

1шт.

61

LE014890

O-RING,3.53mm Thk x 25.7mm ID, Cl 6

1шт.

63

LJ014710

VALVE SECTION

2шт.

66

LJ00734

HYDRAULIC VALVE

See Figure 08-62

3шт.

73

LJ015180

VALVE PRESSURE RELIE

See Figure 08-62

1шт.

76

LJ014700

VALVE PRESSURE RELIE

No Longer Used

2шт.

77

163370A1

PLUG

Incl. 78

2шт.

78

154487A1

O-RING

1шт.

79

163369A1

PLUG

Incl. 80

6шт.

80

154475A1

O-RING

1шт.

90

NSS

NOT SOLD SEPARAT

Plug

1шт.

92

NSS

NOT SOLD SEPARAT

Spool

1шт.

93

LR015290

CAP

1шт.

98

LK00302

PLUG

1шт.

Выбрано товаров: 40