Запчасти Case CX290B (08-66) - KBJ11001 VALVE ASSY - CONTROL (08) - HYDRAULICS

Схема запчастей Case CX290B - (08-66) - KBJ11001 VALVE ASSY - CONTROL (08) - HYDRAULICS
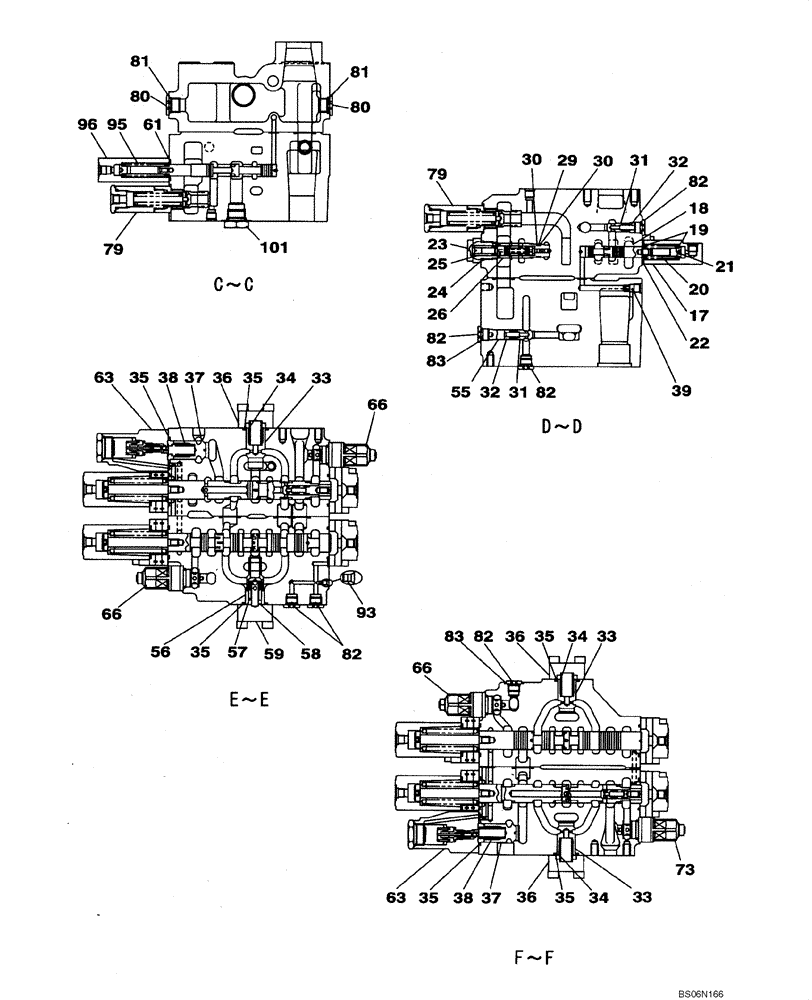
29
26
82
95
39
30
30
82
55
82
36
57
20
31
21
66
96
81
59
73
80
63
79
32
93
23
34
81
38
66
35
25
17
35
22
33
31
35
80
56
79
36
82
34
37
63
33
82
24
34
35
33
83
38
35
58
101
66
32
83
61
18
37
35
36
19
FIT
1:1
100%

Артикул

Название

Примечание

Количество

KBJ11001

CONTROL VALVE

Includes All Parts On Figures 08-63 - 08-68

1шт.

17

LR015250

CAP

1шт.

18

NSS

NOT SOLD SEPARAT

Spool, Valve

1шт.

19

163393A1

SPRING SEAT

2шт.

20

LG00338

SPRING

1шт.

21

LPC0222

END FITTING

1шт.

22

154514A1

O-RING

1шт.

23

LK005690

PLUG

1шт.

24

154503A1

O-RING

1шт.

25

LG00339

SPRING

1шт.

26

LJ01122

VALVE, PRESSURE RELI

EF

1шт.

29

154483A1

O-RING

1шт.

30

153967A1

BACK-UP RING

2шт.

31

LJ00726

VALVE POPPET

2шт.

32

LG00340

SPRING

2шт.

33

LJ00727

VALVE POPPET

3шт.

34

LG00341

SPRING

3шт.

35

154539A1

O-RING

6шт.

36

LH00248

CAP

3шт.

37

163390A1

VALVE POPPET

2шт.

38

163394A1

SPRING

2шт.

39

LJ00731

ORIFICE

1шт.

55

LH004970

SPACER

1шт.

56

LH004980

SLEEVE

1шт.

57

160187A1

VALVE POPPET

1шт.

58

160242A1

SPRING

1шт.

59

LH004990

FLANGE

1шт.

61

LE014890

O-RING,3.53mm Thk x 25.7mm ID, Cl 6

1шт.

63

LJ014710

VALVE SECTION

2шт.

66

LJ00734

HYDRAULIC VALVE

See Figure 08-68

3шт.

73

LJ015180

VALVE PRESSURE RELIE

See Figure 08-68

1шт.

79

LJ014700

VALVE PRESSURE RELIE

No Longer Used

2шт.

80

163370A1

PLUG

Incl. 81

2шт.

81

154487A1

O-RING

1шт.

82

163369A1

PLUG

Incl. 83

6шт.

83

154475A1

O-RING

1шт.

93

NSS

NOT SOLD SEPARAT

Plug

1шт.

95

NSS

NOT SOLD SEPARAT

Spool

1шт.

96

LR015290

CAP

1шт.

101

LK00302

PLUG

1шт.

Выбрано товаров: 40