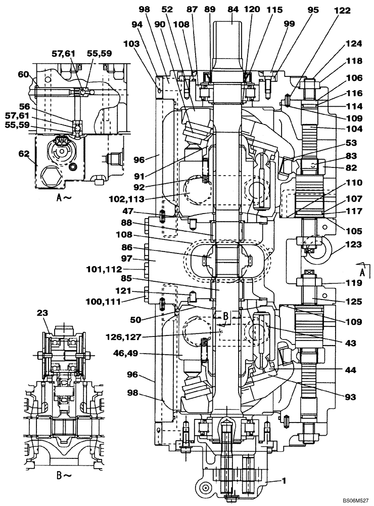
Запчасти Case CX290B (08-92) - KBJ12130 PUMP ASSY, HYDRAULIC - PISTON (08) - HYDRAULICS

Схема запчастей Case CX290B - (08-92) - KBJ12130 PUMP ASSY, HYDRAULIC - PISTON (08) - HYDRAULICS
110
115
100
53
119
95
122
57
60
85
96
59
61
46
99
96
57
120
104
97
101
23
50
127
118
94
108
112
55
52
107
109
109
82
105
126
59
44
93
90
49
113
89
83
124
91
121
62
111
106
88
56
84
117
108
86
114
87
103
55
61
98
116
125
102
92
98
47
123
43
FIT
1:1
100%

Артикул

Название

Примечание

Количество

KBJ12130

HYDRAULIC PUMP

Includes All Parts On Figures 08-92 - 08-96

1шт.

1

LJ014450

HYDRAULIC PUMP

See Figure 08-93

1шт.

23

LC002860

PUMP

See Figure 08-93

1шт.

TJ00071

PISTON

Incl. 43, 44

2шт.

43

NSS

NOT SOLD SEPARAT

Piston

9шт.

44

NSS

NOT SOLD SEPARAT

Shoe

9шт.

LJ017080

BARREL

Incl. 46, 47, Replaces LJ015130, LJ015660

1шт.

46

NSS

NOT SOLD SEPARAT

Block, Cylinder

1шт.

47

NSS

NOT SOLD SEPARAT

Plate

1шт.

LJ017070

BARREL

Incl. 49, 50, Replaces LJ015140, LJ015670

1шт.

49

NSS

NOT SOLD SEPARAT

Block, Cylinder

1шт.

50

NSS

NOT SOLD SEPARAT

Plate

1шт.

LR012710

VALVE POPPET

Incl. 52, 53

2шт.

52

NSS

NOT SOLD SEPARAT

Plate

1шт.

53

NSS

NOT SOLD SEPARAT

Bushing

1шт.

TNP0022

VALVE

Check; Incl. 55 - 57

2шт.

55

NSS

NOT SOLD SEPARAT

Seat

1шт.

56

NSS

NOT SOLD SEPARAT

Stopper

1шт.

57

NSS

NOT SOLD SEPARAT

Ball

1шт.

TNP0023

VALVE

Check; Incl. 59 - 61

2шт.

59

NSS

NOT SOLD SEPARAT

Seat

1шт.

60

NSS

NOT SOLD SEPARAT

Stopper

1шт.

61

NSS

NOT SOLD SEPARAT

Ball

1шт.

62

LJ014460

VALVE SECTION

See Figure 08-94

1шт.

TA00050

SPECIAL PIN

Incl. 82, 83

2шт.

82

NSS

NOT SOLD SEPARAT

Pin

1шт.

83

NSS

NOT SOLD SEPARAT

Pin

1шт.

84

LB00925

DRIVE SHAFT

1шт.

85

LB00926

DRIVE SHAFT

1шт.

86

TC00021

GEAR

1шт.

87

TB00026

BEARING, ROLLER, CYL,40mm ID x 90mm OD x 23mm W

2шт.

88

TB00025

NEEDLE BEARING,33 mm ID x 47 mm OD x 32 mm

2шт.

89

156963A1

SPACER

3шт.

90

TR00047

PLATE

2шт.

91

169288A1

BUSHING

2шт.

92

TG00025

SPRING

18шт.

93

160113A1

PLATE

Shoe

2шт.

94

LS002640

SPOOL

2шт.

95

TW00032

COVER

1шт.

96

LJ014520

HYDRAULIC PUMP

2шт.

97

LS00235

BLOCK

1шт.

98

167078A1

BOLT,M8 x 40mm, Cl 12.9

M8 x 40; 12,9

8шт.

99

861-8020

HEX SOC SCREW,M8 x 20mm, Cl 12.9

4шт.

100

155496A1

PLUG

2шт.

101

TLM0023

PLUG

2шт.

102

155471A1

PLUG

4шт.

103

LK00003

PLUG

32шт.

104

TJ00066

PISTON

2шт.

105

160115A1

STOP

2шт.

106

160116A1

STOP

2шт.

107

LE01176

O-RING

2шт.

108

LE013510

O-RING

(used under cover on top of pump or under aux gear pump)

2шт.

109

LE013500

O-RING

4шт.

110

LE013470

O-RING

16шт.

111

LE013410

O-RING

4шт.

112

LE013490

O-RING

2шт.

113

LE013440

O-RING

4шт.

114

LE01177

O-RING

2шт.

115

TE00812

OIL SEAL

1шт.

116

153970A1

BACK-UP RING

2шт.

117

154017A1

BACK-UP RING

2шт.

118

164R016VR

NUT

2шт.

119

829-1420

NUT,M20, Cl 10

2шт.

120

800-1140

SNAP RING,M40, Ext

2шт.

121

156954A1

DOWEL

2шт.

122

338W060Z014B

LINCH PIN

4шт.

123

126R010SR

EYEBOLT

BOLT, EYE

2шт.

124

LA00036

SET SCREW,Hex

2шт.

125

160296A1

SET SCREW

2шт.

126

NSS

NOT SOLD SEPARAT

Name Plate

1шт.

127

LA00027

RIVET

2шт.

Выбрано товаров: 0