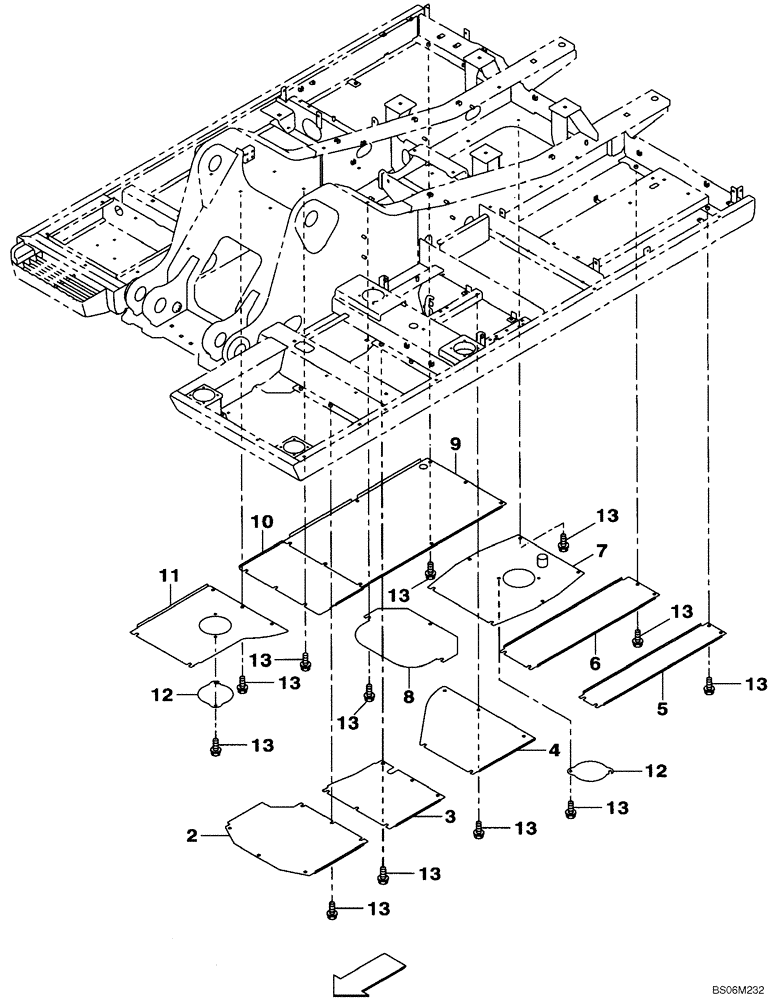
Запчасти Case CX290B (09-03) - TURNTABLE - ACCESS COVERS (09) - CHASSIS/ATTACHMENTS

Схема запчастей Case CX290B - (09-03) - TURNTABLE - ACCESS COVERS (09) - CHASSIS/ATTACHMENTS
7
13
11
10
13
12
13
5
3
13
13
4
13
8
2
13
13
13
13
13
13
6
9
12
FIT
1:1
100%

Артикул

Название

Примечание

Количество

KBB11210

COVER

Incl. 2 - 12

1шт.

2

KRB12900

COVER

1шт.

3

KBB11120

COVER

1шт.

4

KBB11620

COVER

1шт.

5

KBB11140

COVER

1шт.

6

KBB11150

COVER

1шт.

7

KBB11590

COVER

1шт.

8

KBB11170

COVER

1шт.

9

KBB11180

COVER

1шт.

10

KBB11190

COVER

1шт.

11

KBB11200

COVER

1шт.

12

KRB10520

COVER

2шт.

13

158919A1

CAPTIVE WASHER SCREW,Hex Wshr Hd, M12 x 1.75 x 35mm, Cl 10.9, Spcl

54шт.

Выбрано товаров: 13