Запчасти Case CX290B (09-04) - COUNTERWEIGHT - SOUNDPROOFING (09) - CHASSIS/ATTACHMENTS

Схема запчастей Case CX290B - (09-04) - COUNTERWEIGHT - SOUNDPROOFING (09) - CHASSIS/ATTACHMENTS
6
10
4
2
7
9
5
8
3
FIT
1:1
100%

Артикул

Название

Примечание

Количество

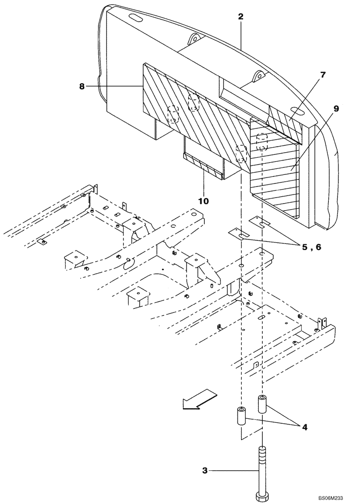
1

KBB11000Y2

WEIGHT PACKAGE

1шт.

2

KHB10390

BOLT

4шт.

1

Counterweight Lifting Eye Not Serviced - Thread size M36 pitch 4.0mm - length 59mm

1шт.

3

KRB10590

SPACER

4шт.

4

KSB0864

SPACER

1шт.

5

KSB0865

SPACER

1шт.

6

KMN1847

FOAM INSULATION

1шт.

7

KRB1631

FOAM INSULATION

1шт.

8

KBB0886

NOISE PROTECTION

1шт.

9

KBB11720

NOISE PROTECTION

1шт.

Выбрано товаров: 0