Запчасти Case CX290B (05-01) - UNDERCARRIAGE (11) - TRACKS/STEERING

Схема запчастей Case CX290B - (05-01) - UNDERCARRIAGE (11) - TRACKS/STEERING
3
2
3
1
4
FIT
1:1
100%

Артикул

Название

Примечание

Количество

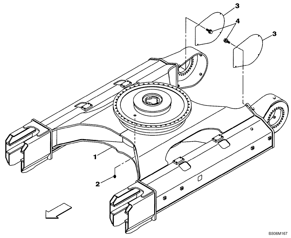
1

KBA10700

FRAME

Undercarriage

1шт.

2

157221A1

PLUG

1шт.

3

KSA10210

COVER

Motor

2шт.

4

158919A1

CAPTIVE WASHER SCREW,Hex Wshr Hd, M12 x 1.75 x 35mm, Cl 10.9, Spcl

8шт.

Выбрано товаров: 4