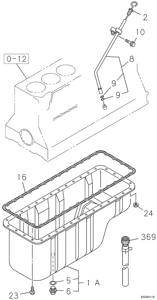
Запчасти Case CX290B (02-13) - OIL PAN (02) - ENGINE

Схема запчастей Case CX290B - (02-13) - OIL PAN (02) - ENGINE
9
369
5
1a
10
2
6
24
0-12
16
9
23
8
FIT
1:1
100%

Артикул

Название

Примечание

Количество

0-12

REF

INSTRUCTION

See Figure 02-12

1шт.

1a

87379494

ENGINE OIL PAN

Incl. 5, 6

1шт.

2

87377942

DIPSTICK

1шт.

5

87378135

GASKET

1шт.

6

87378136

PLUG

1шт.

8

437900A1

TUBE

Incl. 9

1шт.

9

289418A1

GASKET

2шт.

10

419935A1

BOLT

M8 x 16

2шт.

16

87379495

GASKET

1шт.

23

426626A1

BOLT

M8 x 18

30шт.

24

289042A1

NUT

4шт.

369

87378137

HOSE ASSY.

1шт.

Выбрано товаров: 12