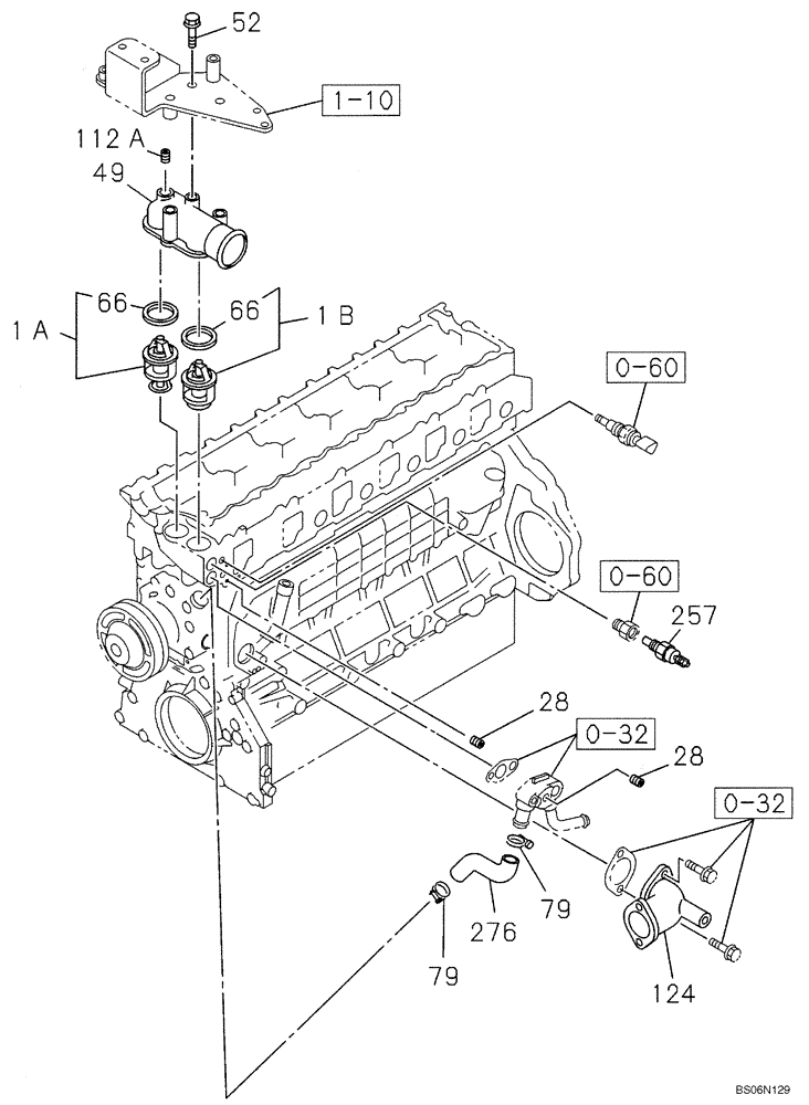
Запчасти Case CX290B (02-24) - ENGINE WATER CIRCUIT - THERMOSTAT (02) - ENGINE

Схема запчастей Case CX290B - (02-24) - ENGINE WATER CIRCUIT - THERMOSTAT (02) - ENGINE
276
0-60
0-32
66
257
124
79
112a
52
66
28
49
28
0-60
79
1-10
1a
1b
0-32
FIT
1:1
100%

Артикул

Название

Примечание

Количество

0-32

REF

INSTRUCTION

See Figure 02-26

1шт.

0-60

REF

INSTRUCTION

See Figure 04-03

1шт.

1-10

REF

INSTRUCTION

See Figure 02-35

1шт.

1a

87376851

THERMOSTAT

Incl. 66

1шт.

1b

87739565

THERMOSTAT

Incl. 66, Replaces 87376872

1шт.

28

438139A1

PLUG

2шт.

49

87378562

PIPE

1шт.

52

437848A1

FLANGE BOLT

4шт.

66

87378564

GASKET

2шт.

79

437887A1

CLAMP

1шт.

112a

87379740

PLUG

1шт.

124

437929A1

MANIFOLD

1шт.

257

289737A1

SENSOR

1шт.

276

437869A1

HOSE

1шт.

Выбрано товаров: 14