Качественные детали и логистика
Оригинальные и аналоговые запчасти с доставкой по России, Казахстану и Беларуси
©2022 PartSell ООО "Система" ИНН 2463123282 ОГРН 1212400004838
Центральный офис: г. Красноярск, Академика Киренского, д.87, пом.4
Телефон: 8 (800) 777-65-74 Email: zakaz@partsell.ru
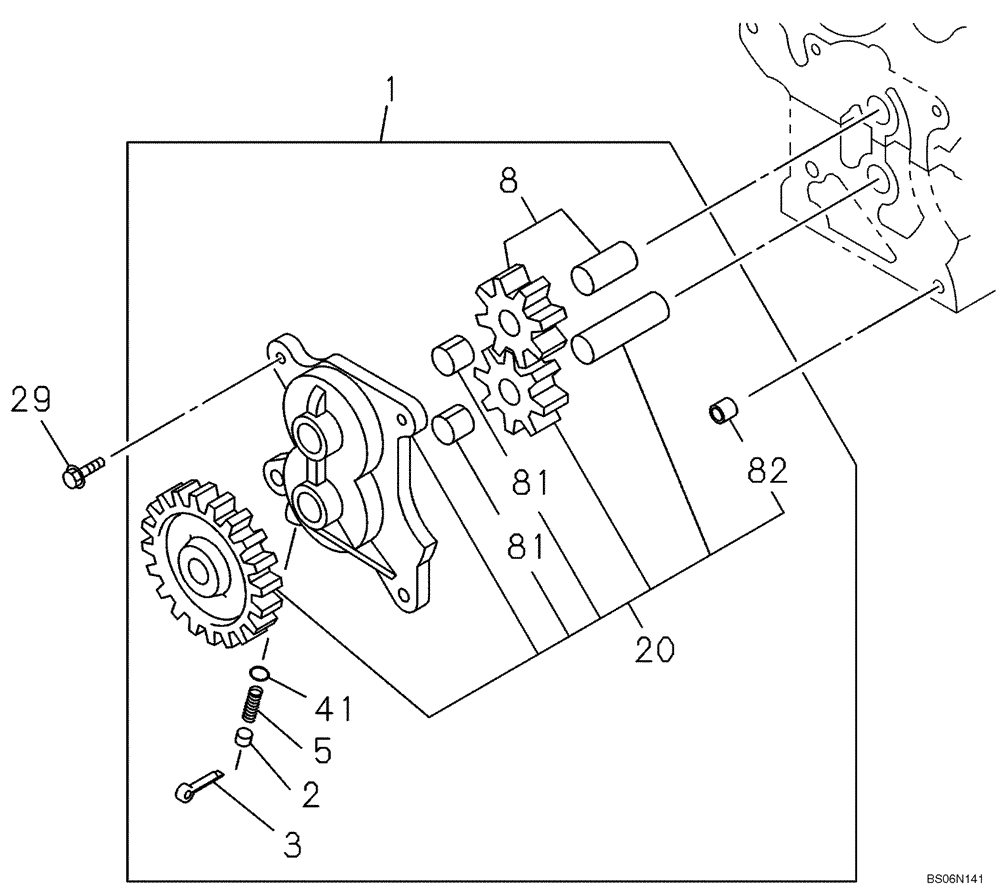
(02-31) - OIL PUMP
№
Артикул
Название
Примечание
Количество
1
87379102
ENGINE OIL PUMP
Incl. 2, 3, 5, 8, 20, 41
1шт.
87379102R
REMAN-ENG OIL PUMP
CX290B CRAWLER EXCAVATOR TIER 3 (NA) (1/07-)
87379102C
CORE-ENGINE OIL PUMP
Return Number
2
289475A1
SEAT
3
87380147
COTTER PIN
5
289413A1
SPRING
8
87379103
DRIVEN GEAR
20
87379105
Incl. 81, 82
29
355261A1
BOLT
4шт.
41
289435A1
BALL
81
87377938
BUSHING
2шт.
82
438191A1
DOWEL
Выбрано товаров: 0