Запчасти Case CX290B (04-02) - ELECTRICAL ACCESSORIES - ENGINE (04) - ELECTRICAL SYSTEMS

Схема запчастей Case CX290B - (04-02) - ELECTRICAL ACCESSORIES - ENGINE (04) - ELECTRICAL SYSTEMS
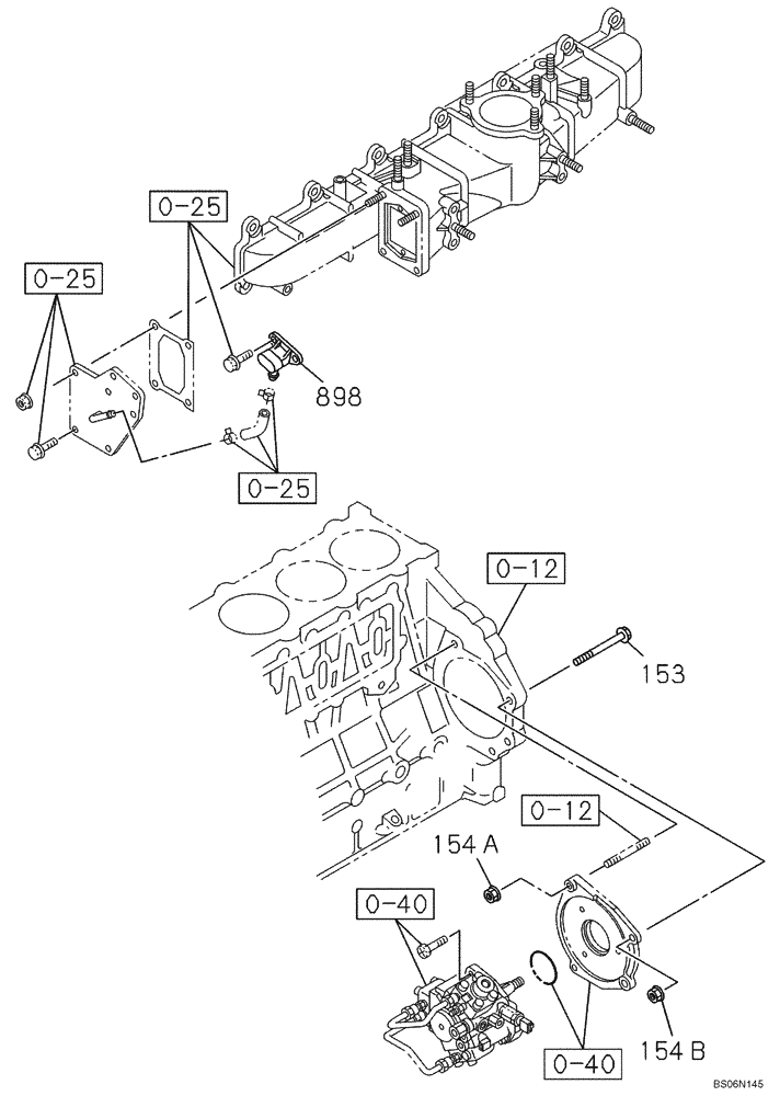
0-25
0-12
0-25
898
153
154a
0-12
0-40
0-40
154b
0-25
FIT
1:1
100%

Артикул

Название

Примечание

Количество

0-12

REF

INSTRUCTION

See Figure 02-12

1шт.

0-25

REF

INSTRUCTION

See Figure 02-19

1шт.

0-40

REF

INSTRUCTION

See Figure 03-04

1шт.

153

437853A1

BOLT

1шт.

154a

419929A1

NUT

M10

2шт.

154b

289043A1

NUT

M12

1шт.

898

87379342

SENSOR

Boost Pressure

1шт.

Выбрано товаров: 7