Качественные детали и логистика
Оригинальные и аналоговые запчасти с доставкой по России, Казахстану и Беларуси
©2022 PartSell ООО "Система" ИНН 2463123282 ОГРН 1212400004838
Центральный офис: г. Красноярск, Академика Киренского, д.87, пом.4
Телефон: 8 (800) 777-65-74 Email: zakaz@partsell.ru
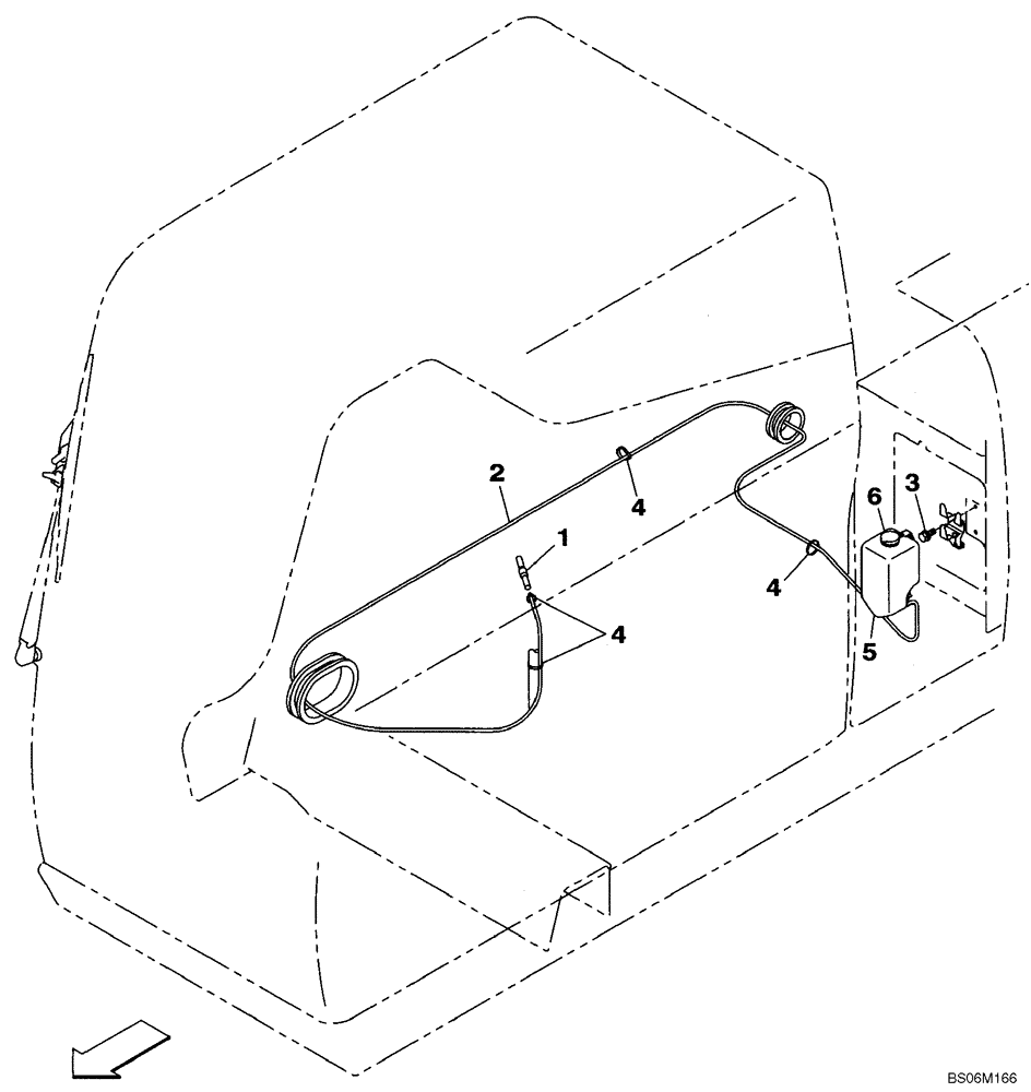
(04-21) - WINDSHIELD WASHER
№
Артикул
Название
Примечание
Количество
1
152824A1
ADAPTER
1шт.
2
162127A1
LARGE HOSE,4 mm ID, 7 mm OD
HOSE,LARGE 5300 mm (208-5/8 in)
3
159602A1
BOLT,Sems, Hex, M6 x 16mm
2шт.
4
150496A1
MOUNTING CLIP
3шт.
5
161374A1
RESERVOIR ASSY.
Incl. 6
6
KHN2506
PLUG
Cap
Выбрано товаров: 0