Запчасти Case CX290B (06-03) - MOTOR ASSY - TRACK DRIVE (06) - POWER TRAIN

Схема запчастей Case CX290B - (06-03) - MOTOR ASSY - TRACK DRIVE (06) - POWER TRAIN
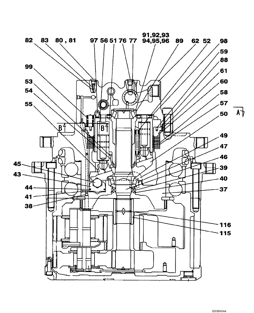
38
76
55
97
45
59
77
37
50
57
47
95
39
60
43
115
96
89
83
81
54
93
52
80
44
51
88
61
46
41
56
40
116
98
91
82
94
92
49
58
62
53
99
FIT
1:1
100%

Артикул

Название

Примечание

Количество

KBA10750

MOTO-REDUCTION GEAR

Includes All Parts On Figures 06-02 - 06-04

1шт.

LJ018700R

REMAN-HYD MOTOR

CX290B CRAWLER EXCAVATOR TIER 3 (NA) (1/07-), ASSY, Reman for New PN KBA10750

1шт.

LJ018700C

CORE-MOTOR HYDRAULIC

Return Number

1шт.

LJ014910

HYDRAULIC MOTOR

Motor, Piston; Incl. 37 - 116; Also Includes Parts On Figure 06-04

1шт.

LJ018700R

REMAN-HYD MOTOR

CX290B CRAWLER EXCAVATOR TIER 3 (NA), Motor, Piston (1/07-), Reman for New PN LJ014910

1шт.

LJ018700C

CORE-MOTOR HYDRAULIC

Return Number

1шт.

37

LW005120

BOX

1шт.

38

LK005330

PLUG

1шт.

39

LE00997

OIL SEAL

1шт.

40

800-2168

SNAP RING,M68, Int

1шт.

41

LK00394

PLUG

1шт.

LJ013800

PISTON

Incl. 43, 44

1шт.

43

LJ013810

PISTON

1шт.

44

LE012890

SEAL

1шт.

45

LB011180

BALL

1шт.

46

LB00792

DRIVE SHAFT

1шт.

47

LB00796

TAPERED BEARING,45mm ID x 85mm OD x 24.75mm W

1шт.

LR015510

PLATE

Incl. 49, 50

1шт.

49

NSS

NOT SOLD SEPARAT

Bearing, Roller

2шт.

50

NSS

NOT SOLD SEPARAT

Plate, Shoe

1шт.

51

LS00206

CYLINDER BLOCK

1шт.

52

LG00430

COMPRESSION SPRING

9шт.

53

LR00862

SPRING SEAT

1шт.

54

LB00795

BALL JOINT

1шт.

55

LH00320

RETAINER

1шт.

56

LJ00955

PISTON

9шт.

57

LR00859

ADJUSTING PLATE

5шт.

58

LR00858

PLATE

4шт.

59

LJ00954

PISTON

1шт.

60

LE012900

SEALING RING

SEALRING

1шт.

61

LE012910

SEALING RING

SEALRING

1шт.

62

LW005130

COVER

1шт.

76

LK00391

PLUG

2шт.

77

154467A1

O-RING,10.8mm ID x 2.4mm Width

2шт.

80

TK00028

PLUG

5шт.

81

154455A1

O-RING

5шт.

82

TJ00129

CHECK VALVE

3шт.

83

TG00045

SPRING

3шт.

88

LE00999

O-RING

1шт.

89

LB00797

TAPERED BEARING,35mm ID x 72mm OD x 24.25mm W

1шт.

LH00389

SHIM KIT

Incl. 91 - 96

1шт.

91

LH00428

SHIM,0.4mm Thk

1шт.

92

LH00429

SHIM,0.5mm Thk

1шт.

93

LH00430

SHIM,0.6mm Thk

1шт.

94

LH00431

SHIM,0.7mm Thk

1шт.

95

LH00432

SHIM,0.8mm Thk

1шт.

96

LH00433

SHIM,0.9mm Thk

1шт.

97

837-8012

DOWEL,M8 x 12

1шт.

98

LR00860

PLATE

1шт.

99

LG00431

COMPRESSION SPRING

14шт.

115

LB00793

COUPLING FLANGE

1шт.

116

800-2140

SNAP RING,M40, Int

1шт.

Выбрано товаров: 52