Запчасти Case CX290B (08-08) - HYDRAULICS - DRAIN LINE (08) - HYDRAULICS

Схема запчастей Case CX290B - (08-08) - HYDRAULICS - DRAIN LINE (08) - HYDRAULICS
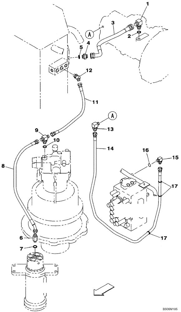
8
16
12
14
17
9
10
4
1
17
6
5
13
7
2
3
15
11
FIT
1:1
100%

Артикул

Название

Примечание

Количество

1

KHJ0603

ELBOW

Incl. 2

1шт.

2

154503A1

O-RING

1шт.

3

KBJ11430

HYDRAULIC HOSE,25.40 mm ID x 720.00 mm

1шт.

4

153001A1

ADAPTER

Incl. 5

1шт.

5

154503A1

O-RING

1шт.

6

KAJ2358

FITTING

Incl. 7

1шт.

7

154487A1

O-RING

1шт.

8

KSJ2790

HYDRAULIC HOSE,19.05 mm ID x 880.00 mm

1шт.

9

163114A1

TEE

Incl. 10

1шт.

10

154487A1

O-RING

1шт.

11

KBJ13790

HYDRAULIC HOSE,740.00 mm

Replaces KBJ11820

1шт.

12

163005A1

ELBOW

1шт.

13

157937A1

ELBOW

1шт.

14

KHJ14830

HYDRAULIC HOSE,12.70 mm ID x 2300.00 mm

1шт.

15

150919A1

ELBOW,90 Degree, 1/2" O-Ring x 1/2"

Incl. 16

1шт.

16

154487A1

O-RING

1шт.

17

150496A1

MOUNTING CLIP

3шт.

Выбрано товаров: 17