Запчасти Case CX350B (08-27) - SELECTOR VALVE, CONTROL VALVE - TWO WAY (08) - HYDRAULICS

Схема запчастей Case CX350B - (08-27) - SELECTOR VALVE, CONTROL VALVE - TWO WAY (08) - HYDRAULICS
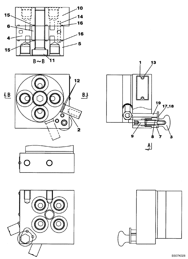
6
19
15
4
10
14
11
3
12
15
7
5
16
13
1
8
9
16
18
17
2
FIT
1:1
100%

Артикул

Название

Примечание

Количество

1

NSS

NOT SOLD SEPARAT

NAME PLATE

1шт.

2

LF00035

CONTROL LEVER

1шт.

3

LP000220

KNOB

KNOB

1шт.

4

NSS

NOT SOLD SEPARAT

PLATE

1шт.

5

LR014550

PLATE

PLATE

1шт.

6

NSS

NOT SOLD SEPARAT

COLLAR

1шт.

7

LH004670

SLEEVE

SLEEVE

1шт.

8

LG005840

COMPRESSION SPRING

SPRING, COMPRESSION

1шт.

9

LA010670

DOWEL

PIN, SPL

1шт.

10

LR014560

PLATE

PLATE

1шт.

11

LA010680

BOLT,Hex Skt Hd

BOLT HEX SOC HD

1шт.

12

895-11008

WASHER,9mm ID x 16mm OD x 1.6mm Thk

2шт.

13

NSS

NOT SOLD SEPARAT

RIVET

2шт.

14

LA010690

DOWEL

PIN

1шт.

15

LE00852

O-RING

2шт.

16

LE01128

O-RING

2шт.

17

LG005850

STOP LOCK

STOPPER SPL

1шт.

18

NSS

NOT SOLD SEPARAT

BRACKET

1шт.

19

NSS

NOT SOLD SEPARAT

PIN, SPL

2шт.

Выбрано товаров: 0