Запчасти Case CX350B (08-68) - CONTROL VALVE - OPTIONAL (08) - HYDRAULICS

Схема запчастей Case CX350B - (08-68) - CONTROL VALVE - OPTIONAL (08) - HYDRAULICS
FIT
1:1
100%

Артикул

Название

Примечание

Количество

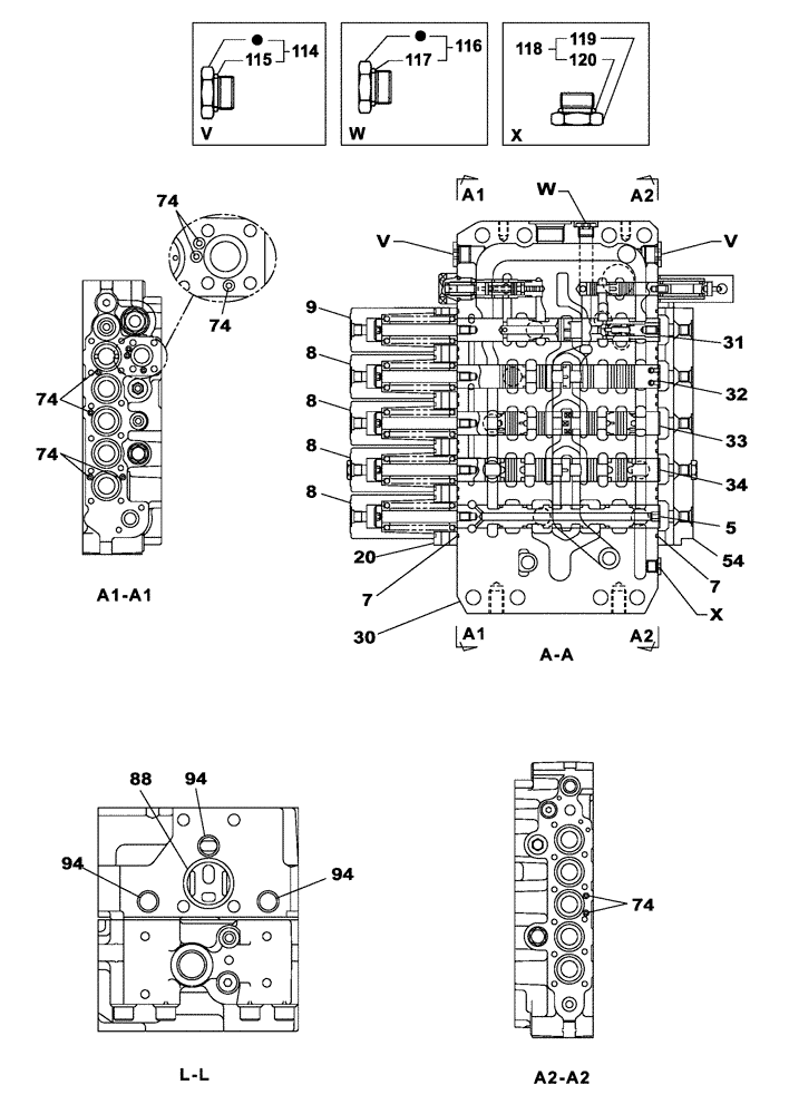
5

NSS

NOT SOLD SEPARAT

Spool

1шт.

7

154589A1

O-RING

10шт.

8

LR015120

PLUG

4шт.

9

LR015220

CAP

1шт.

20

LR015240

PLATE

Plate Assy, See Fig 08-78

1шт.

30

NSS

NOT SOLD SEPARAT

Housing

1шт.

31

NSS

NOT SOLD SEPARAT

Spool

1шт.

32

NSS

NOT SOLD SEPARAT

Spool

1шт.

33

NSS

NOT SOLD SEPARAT

Spool

1шт.

34

NSS

NOT SOLD SEPARAT

Spool

1шт.

54

LR015270

PLATE

Plate Assy, See Fig 08-80

1шт.

74

154447A1

O-RING

9шт.

88

154625A1

O-RING

1шт.

94

LE012520

O-RING

3шт.

114

163370A1

PLUG

Incl 115

2шт.

115

154487A1

O-RING

1шт.

116

163369A1

PLUG

Incl 117

1шт.

117

154475A1

O-RING

1шт.

118

163972A1

PLUG

Incl 119, 120

1шт.

119

LK00328

PLUG

1шт.

120

154467A1

O-RING,10.8mm ID x 2.4mm Width

1шт.

Выбрано товаров: 21