Запчасти Case CX350B (08-71) - CONTROL VALVE - STANDARD (08) - HYDRAULICS

Схема запчастей Case CX350B - (08-71) - CONTROL VALVE - STANDARD (08) - HYDRAULICS
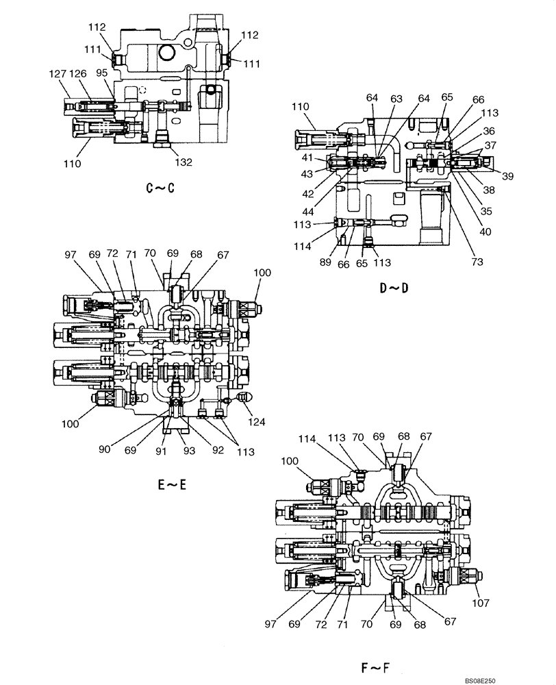
69
112
114
66
100
39
69
124
91
72
90
112
70
72
107
64
100
89
70
64
38
40
92
68
44
111
63
35
41
69
67
110
111
113
65
100
69
36
126
114
113
113
113
71
68
67
113
132
42
97
110
67
127
70
97
37
69
95
68
43
65
69
93
71
66
73
FIT
1:1
100%

Артикул

Название

Примечание

Количество

35

LR015250

CAP

Housing

1шт.

36

NSS

NOT SOLD SEPARAT

Spool

1шт.

37

163393A1

SPRING SEAT

2шт.

38

LG00338

SPRING

1шт.

39

LPC0222

END FITTING

1шт.

40

154514A1

O-RING

1шт.

41

LK005690

PLUG

1шт.

42

154503A1

O-RING

1шт.

43

LG00339

SPRING

1шт.

44

LJ01122

VALVE, PRESSURE RELI

EF

1шт.

63

154483A1

O-RING

1шт.

64

153967A1

BACK-UP RING

2шт.

65

LJ00726

VALVE POPPET

2шт.

66

LG00340

SPRING

2шт.

67

LJ00727

VALVE POPPET

7шт.

68

LG00341

SPRING

8шт.

69

154539A1

O-RING

10шт.

70

LH00248

CAP

6шт.

71

163390A1

VALVE POPPET

2шт.

72

163394A1

SPRING

2шт.

73

LJ00731

ORIFICE

1шт.

89

LH004970

SPACER

1шт.

90

LH004980

SLEEVE

1шт.

91

160187A1

VALVE POPPET

1шт.

92

160242A1

SPRING

1шт.

93

LH004990

FLANGE

1шт.

95

LE014890

O-RING,3.53mm Thk x 25.7mm ID, Cl 6

1шт.

97

LJ014710

VALVE SECTION

2шт.

100

LJ00734

HYDRAULIC VALVE

See Fig 08-75

2шт.

107

LJ017100

VALVE PRESSURE RELIE

See Fig 08-75

1шт.

110

LJ014700

VALVE PRESSURE RELIE

1шт.

111

163370A1

PLUG

Incl 112

2шт.

112

154487A1

O-RING

1шт.

113

163369A1

PLUG

Incl 114

2шт.

114

154475A1

O-RING

1шт.

124

NSS

NOT SOLD SEPARAT

Plug

5шт.

126

NSS

NOT SOLD SEPARAT

Spool

1шт.

127

LR015290

CAP

1шт.

132

LK00302

PLUG

Incl 133

1шт.

133

165836A1

PLUG

1шт.

134

154503A1

O-RING

1шт.

Выбрано товаров: 41