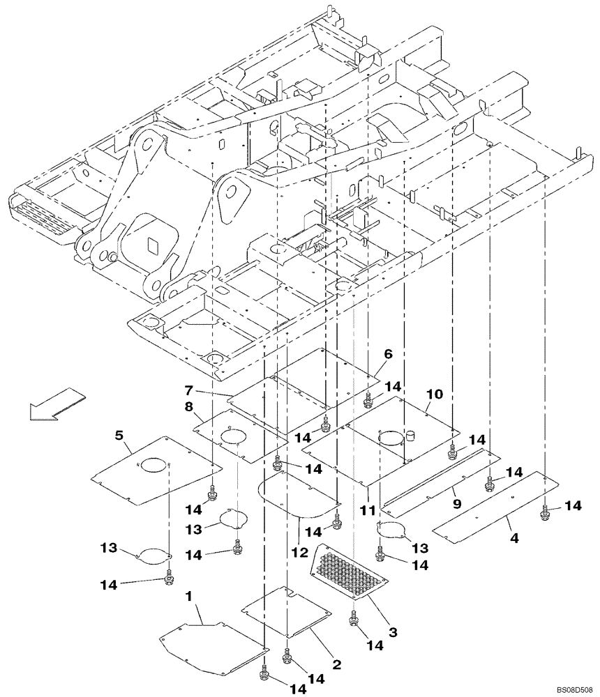
Запчасти Case CX350B (09-03) - TURNTABLE - ACCESS COVERS (09) - CHASSIS

Схема запчастей Case CX350B - (09-03) - TURNTABLE - ACCESS COVERS (09) - CHASSIS
13
14
14
4
14
14
1
10
8
9
14
6
14
13
5
14
13
14
14
14
14
7
11
12
3
2
14
14
14
FIT
1:1
100%

Артикул

Название

Примечание

Количество

1

KSB12570

COVER

1шт.

2

KSB12580

COVER

1шт.

3

KSB12590

COVER

1шт.

4

KSB12600

COVER

1шт.

5

KSB12610

COVER

1шт.

6

KSB12620

COVER

1шт.

7

KSB12630

COVER

1шт.

8

KSB12640

COVER

1шт.

9

KSB1138

COVER

1шт.

10

KSB0880

PROTECTION PLATE

1шт.

11

KSB10990

COVER

1шт.

12

KSB0909

PROTECTION PLATE

1шт.

13

KRB10520

COVER

3шт.

14

158919A1

CAPTIVE WASHER SCREW,Hex Wshr Hd, M12 x 1.75 x 35mm, Cl 10.9, Spcl

59шт.

Выбрано товаров: 14