Запчасти Case CX350B (09-10) - MAT, FLOOR - OPERATORS COMPARTMENT - MODELS WITH PEDAL ACTIVATED AUXILIARY HYDRAULICS (09) - CHASSIS

Схема запчастей Case CX350B - (09-10) - MAT, FLOOR - OPERATORS COMPARTMENT - MODELS WITH PEDAL ACTIVATED AUXILIARY HYDRAULICS (09) - CHASSIS
5
1
6
3
3
6
4
4
2
2
FIT
1:1
100%

Артикул

Название

Примечание

Количество

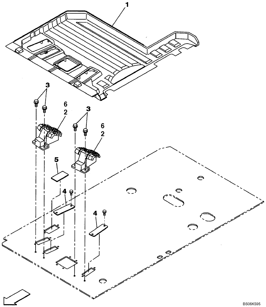
1

KHJ15020

FLOOR MAT

1шт.

2

KHJ13860

FOOTREST

2шт.

3

166052A1

BOLT

4шт.

4

KHJ14550

GROMMET

2шт.

5

KHJ14560

GROMMET

1шт.

6

KHP1400

COVER

2шт.

Выбрано товаров: 6