Запчасти Case CX350B (09-59) - DECALS (09) - CHASSIS

Схема запчастей Case CX350B - (09-59) - DECALS (09) - CHASSIS
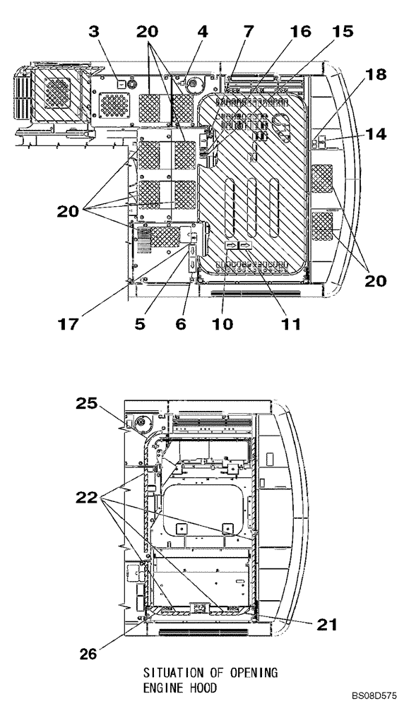
16
22
11
18
6
7
14
20
10
4
26
3
25
20
21
20
15
5
17
FIT
1:1
100%

Артикул

Название

Примечание

Количество

3

KHP11681

DECAL

ARROW

1шт.

4

KHP1542

WARNING DECAL

1шт.

5

KHP1533

WARNING DECAL

ARROW

1шт.

6

KHP1534

WARNING DECAL

ARROW

1шт.

7

KHP1535

WARNING DECAL

ARROW

2шт.

10

KHP1010

DECAL

ARROW

1шт.

11

KHP1011

DECAL

ARROW

1шт.

14

KHP12210

DECAL

ARROW

1шт.

15

156404A1

DECAL

1шт.

16

156468A1

DECAL

1шт.

17

KTP1089

DECAL

1шт.

18

KHP13150

DECAL

ARROW

1шт.

20

162935A1

ANTI-SKID STRIP

9шт.

21

KHP1776

ADHESIVE STRIP

1шт.

22

KHP0969

ADHESIVE STRIP

1шт.

25

KHP1774

ADHESIVE STRIP

1шт.

26

KHP1775

ADHESIVE STRIP

1шт.

Выбрано товаров: 17