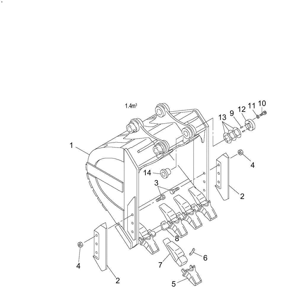
Запчасти Case CX350B (09-65) - VAR. 781912, BUCKET, 1.4M3 HD (09) - CHASSIS

Схема запчастей Case CX350B - (09-65) - VAR. 781912, BUCKET, 1.4M3 HD (09) - CHASSIS
9
13
12
7
4
5
10
3
14
4
6
11
1
2
2
8
FIT
1:1
100%

Артикул

Название

Примечание

Количество

1

KSV30170

BUCKET

1шт.

2

KUV0014

CUTTER

2шт.

3

102R033W090N

SCREW

6шт.

4

162R033VN

NUT

6шт.

5

KSV1211

BUCKET TOOTH POINT

5шт.

6

KSV1213

PIN

5шт.

7

KSV1212

ADAPTER

5шт.

8

KSV1351

POINT

4шт.

9

335B120T040

PIN

2шт.

10

108R016Y045R

BOLT

4шт.

11

184-016VR

SPRING WASHER

4шт.

12

KSV0666

PLATE

1шт.

13

KSV0839

SHIM

6шт.

14

KSV1333

BUSHING

1шт.

Выбрано товаров: 14