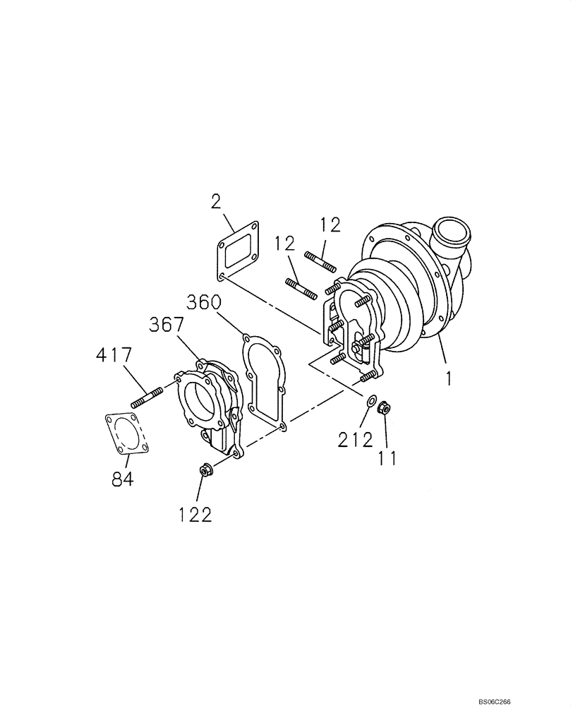
Запчасти Case CX350B (02-27) - TURBOCHARGER (02) - ENGINE

Схема запчастей Case CX350B - (02-27) - TURBOCHARGER (02) - ENGINE
122
12
417
367
1
11
12
212
2
360
84
FIT
1:1
100%

Артикул

Название

Примечание

Количество

1

87361311

TURBOCHARGER

1шт.

87361311R

REMAN-TURBOCHARGER

CX350B TIER 3 (5/08-)

1шт.

87361311C

CORE-TURBOCHARGER

Return Number

1шт.

2

87376877

GASKET

1шт.

11

289065A1

NUT

8шт.

12

87378837

STUD

2шт.

84

437933A1

GASKET

1шт.

122

288804A1

NUT

6шт.

212

289070A1

WASHER

4шт.

360

87379778

GASKET

1шт.

367

87378838

ADAPTER

1шт.

417

426261A1

STUD

4шт.

Выбрано товаров: 12