Запчасти Case CX350B (03-02) - FUEL TANK (03) - FUEL SYSTEM

Схема запчастей Case CX350B - (03-02) - FUEL TANK (03) - FUEL SYSTEM
15
12
4
10
7
14
9
2
3
22
5
17
13
21
18
6
8
16
19
11
FIT
1:1
100%

Артикул

Название

Примечание

Количество

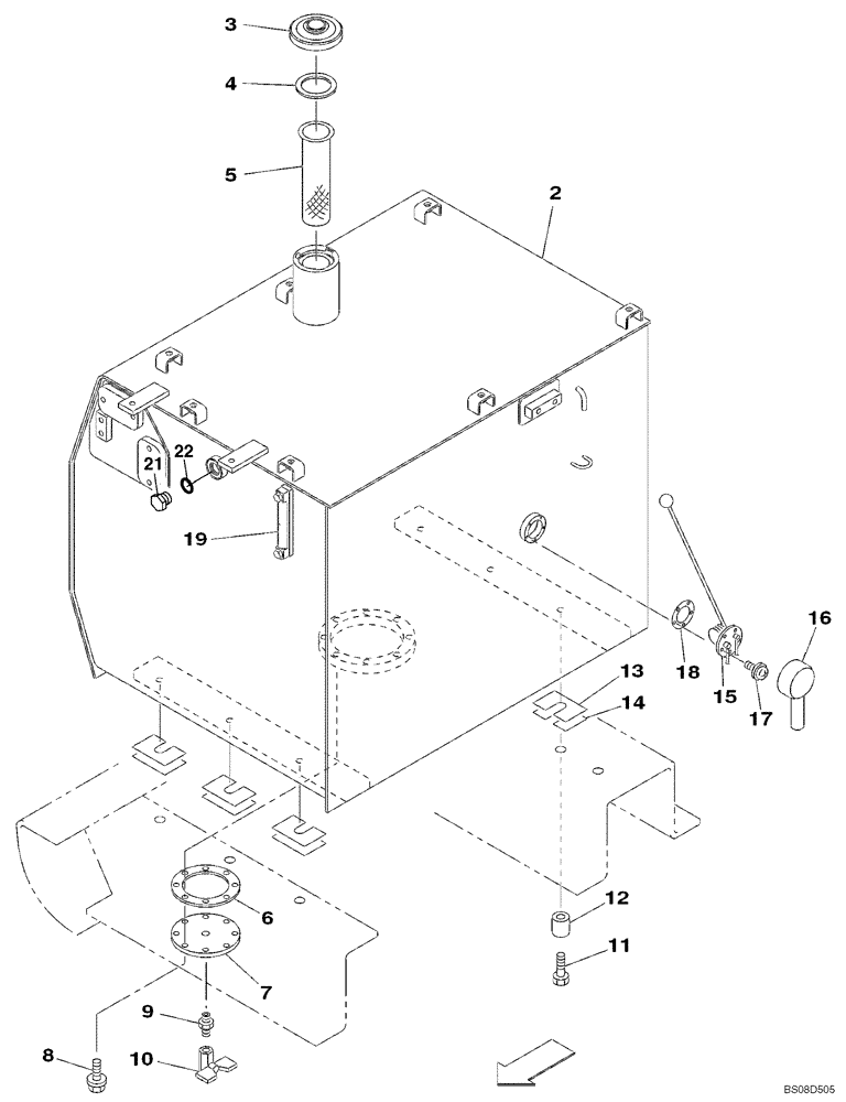
2

KSH10270

FUEL TANK

Incl. 3 - 8

1шт.

3

150492A1

LOCKABLE FUEL CAP

Incl. 4

1шт.

4

163804A1

GASKET

1шт.

5

KHH10060

FILTER

1шт.

6

151322A1

GASKET,3mm Thk

1шт.

7

151320A1

COVER

1шт.

8

166052A1

BOLT

M10 x 25

8шт.

9

150847A1

HYD CONNECTOR

1шт.

10

158923A1

DRAIN VALVE

1шт.

11

827-16070

BOLT,Hex, M16 x 2 x 70mm, Cl 10.9

6шт.

12

162301A1

SPACER

6шт.

13

150166A1

SHIM

0,80 mm

1шт.

14

150479A1

SHIM

2,00 mm

1шт.

15

163257A1

SENSOR

1шт.

16

159698A1

COVER

1шт.

17

151688A1

SCREW,Phil Pan Hd, M5 x 12mm, W/ Wshr

M5 x 12

5шт.

18

152591A1

GASKET,2mm Thk

1шт.

19

KHH12090

DIPSTICK

1шт.

20

152924A1

PLUG

Incl. 21

1шт.

21

154503A1

O-RING

1шт.

Выбрано товаров: 20