Качественные детали и логистика
Оригинальные и аналоговые запчасти с доставкой по России, Казахстану и Беларуси
©2022 PartSell ООО "Система" ИНН 2463123282 ОГРН 1212400004838
Центральный офис: г. Красноярск, Академика Киренского, д.87, пом.4
Телефон: 8 (800) 777-65-74 Email: zakaz@partsell.ru
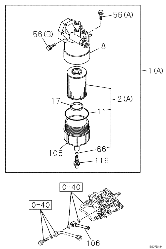
(03-05) - FUEL FILTER
№
Артикул
Название
Примечание
Количество
0-40
REF
INSTRUCTION
See Figure 03-03
1шт.
1a
87379042
FILTER ASSY
Incl. 2A, 8, 17, 56A, 56B, 105, 119
2a
87365565
FUEL FILTER
Incl. 11, 66
8
87596942
FILTER COVER
11
87379063
GASKET
17
87379072
FLOAT
56a
87596944
BOLT
56b
87596955
PLUG
66
87379078
105
87596956
FILTER BOWL
106
87379088
PIPE
119
87386020
Выбрано товаров: 0