Запчасти Case CX350B (06-04) - TRAVEL REDUCTION GEAR (06) - POWER TRAIN

Схема запчастей Case CX350B - (06-04) - TRAVEL REDUCTION GEAR (06) - POWER TRAIN
FIT
1:1
100%

Артикул

Название

Примечание

Количество

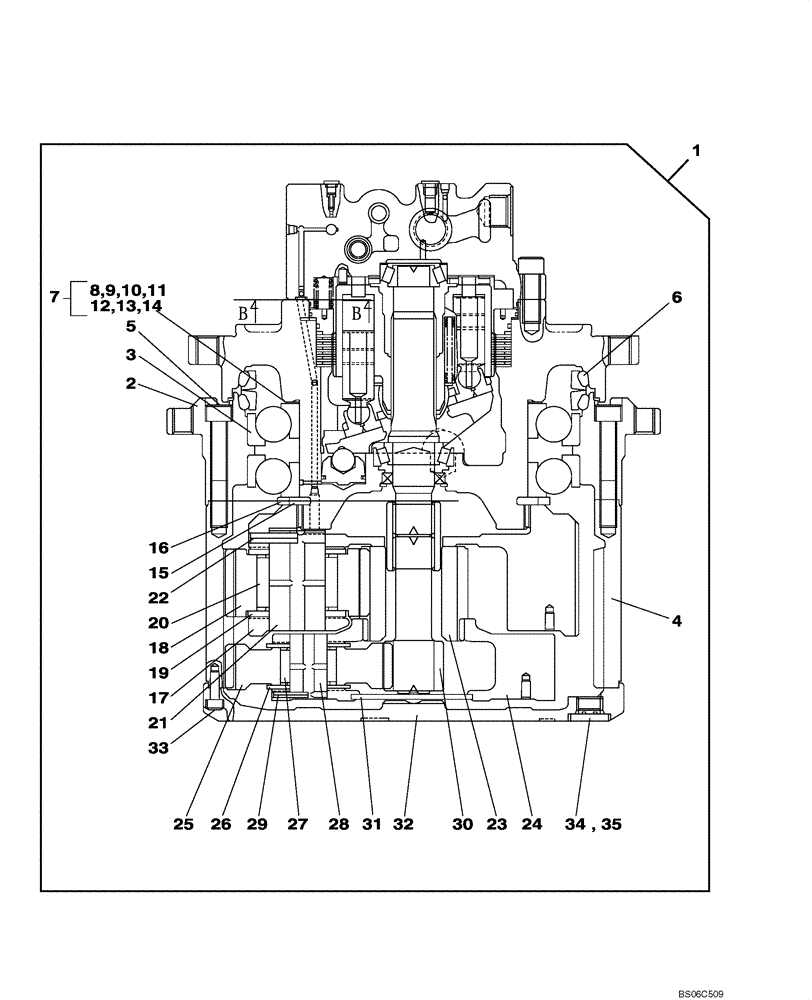
KSA10220

MOTO-REDUCTION GEAR

Includes Figures 06-01 - 06-04

1шт.

LJ018710R

REMAN-HYD MOTOR

Motor Only. Reducer PN LN002190 And Spool PN LJ018600 Must Also Be Ordered When Replacing KSA10220

1шт.

LJ018710C

CORE-MOTOR HYDRAULIC

Return Number

1шт.

1

LN001600

REDUCER

Incl. 2 - 35

1шт.

2

LT00127

HOUSING

S/N S630065 And After, LT001570

1шт.

3

LB00791

BEARING, BALL

2шт.

4

LC002630

HOUSING

1шт.

5

108R018Y110N

BOLT

M18 x 110

25шт.

6

LE00993

SEAL

1шт.

7

LH00388

SHIM

Incl. 8 - 14

1шт.

8

LH00421

SHIM,1.3mm Thk

1шт.

9

LH00422

SHIM,1.4mm Thk

1шт.

10

LH00423

SHIM,1.5mm Thk

1шт.

11

LH00424

SHIM,1.6mm Thk

1шт.

12

LH00425

SHIM,1.7mm Thk

1шт.

13

LH00426

SHIM,1.8mm Thk

1шт.

14

LH00427

SHIM,1.9mm Thk

1шт.

15

LA00832

LOCK WASHER

2шт.

16

LE00992

RING

1шт.

17

LN00097

HOUSING

1шт.

18

LC00253

GEAR

3шт.

19

LA00839

THRUST WASHER

6шт.

20

LB011160

NEEDLE BEARING

3шт.

21

LA00838

PIN

3шт.

22

338W100Z050B

KEY

3шт.

23

LC00206

SUN GEAR

1шт.

24

LN00134

HOUSING

1шт.

25

LC00244

GEAR

3шт.

26

LA00837

THRUST WASHER

6шт.

27

LB011170

NEEDLE BEARING

3шт.

28

LA00844

PIN

3шт.

29

338W060Z036N

PIN

3шт.

30

LC002750

SUN GEAR

1шт.

31

LR00857

PLATE

1шт.

32

LW004700

COVER

1шт.

33

861-10030

HEX SOC SCREW,M10 x 30mm, Cl 12.9

1шт.

34

LK00383

PLUG

1шт.

35

154503A1

O-RING

1шт.

Выбрано товаров: 38