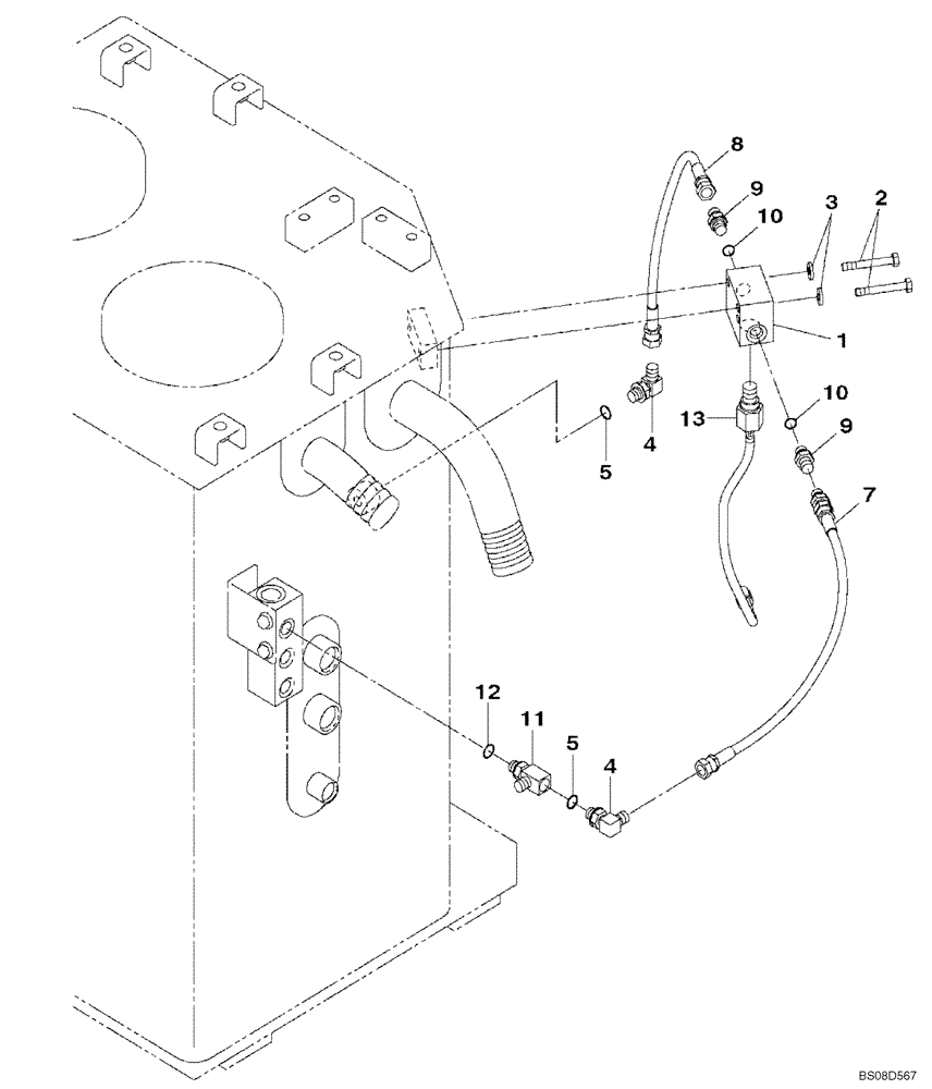
Запчасти Case CX350B (08-03) - HYDRAULIC RESERVOIR - PRESSURE SWITCH (08) - HYDRAULICS

Схема запчастей Case CX350B - (08-03) - HYDRAULIC RESERVOIR - PRESSURE SWITCH (08) - HYDRAULICS
2
10
8
13
11
5
9
9
10
4
5
12
4
1
3
7
FIT
1:1
100%

Артикул

Название

Примечание

Количество

1

KHJ11730

MANIFOLD VALVE

1шт.

2

827-8060

BOLT,Hex, M8 x 1.25 x 60mm, Cl 10.9

2шт.

3

153081A1

WASHER

2шт.

4

150913A1

ELBOW,90 Degree, 1/4" O-Ring x 1/4"

Incl. 5

2шт.

5

154467A1

O-RING,10.8mm ID x 2.4mm Width

1шт.

7

KHJ2394

HOSE ASSY.

Incl. 8

1шт.

8

KHJ2044

HOSE,6.3mm ID x 350mm L

1шт.

9

152127A1

HYD CONNECTOR,1/4" NPT O-Ring x 1/4" NPT

Incl. 10

2шт.

10

154467A1

O-RING,10.8mm ID x 2.4mm Width

1шт.

11

KHJ2773

TEE

1шт.

12

154467A1

O-RING,10.8mm ID x 2.4mm Width

1шт.

13

KHR14470

PRESSURE SWITCH

Pressure

1шт.

Выбрано товаров: 12