Запчасти Case CX470B (02-02) - AIR CLEANER (02) - ENGINE

Схема запчастей Case CX470B - (02-02) - AIR CLEANER (02) - ENGINE
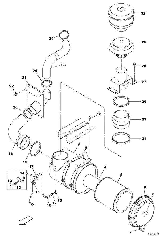
10
23
26
22
28
6
8
15
32
31
3
24
29
4
20
27
13
16
12
5
14
17
7
30
21
19
17
11
25
9
18
FIT
1:1
100%

Артикул

Название

Примечание

Количество

KTH0574

FILTER ASSY

Include(s) 3 - 8

1шт.

3

KTH0575

BODY

1шт.

4

KTH0576

AIR FILTER

1шт.

5

KTH0577

AIR FILTER

1шт.

6

KTH0578

COVER

1шт.

7

KBH0924

VALVE

1шт.

8

NSS

NOT SOLD SEPARAT

1шт.

9

KUH0027

FIXING STRIP

1шт.

10

166052A1

BOLT

4шт.

11

KHH10330

SENSOR

1шт.

12

165818A1

ELBOW

1шт.

13

KRH1236

SEAL

1шт.

14

157742A1

NUT

1шт.

15

KRH1237

ELBOW

1шт.

16

157780A1

HOSE

1шт.

17

165951A1

CLAMP

2шт.

18

KTH10170

AIR FLEXIBLE

1шт.

19

158840A1

BAND,133mm - 158mm

1шт.

20

150855A1

HOSE CLAMP,127mm - 146mm

1шт.

21

KTH10210

SUPPORT

1шт.

22

152718A1

BOLT,Spcl, Hex Wshr, M12 x 25mm, Cl 10.9

2шт.

23

KTH10180

AIR FLEXIBLE

1шт.

24

150545A1

COLLAR

1шт.

25

150294A1

CLAMP,95mm - 115mm

1шт.

26

KSH0293

PLUG

1шт.

27

KTH10990

SUCTION PIPE

1шт.

28

166352A1

BOLT

4шт.

29

KTH0677

REDUCER

1шт.

30

158840A1

BAND,133mm - 158mm

1шт.

31

KSJ2139

FIXING STRIP

1шт.

32

KSH0104

FILTER ASSY

1шт.

Выбрано товаров: 31