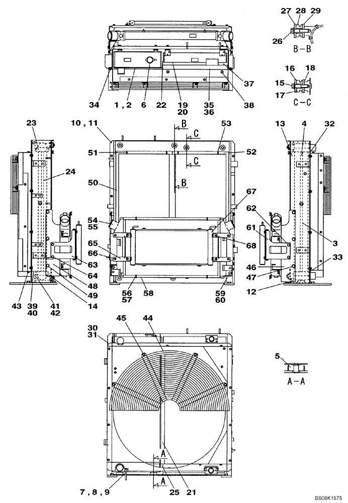
Запчасти Case CX470B (02-06) - RADIATOR ASSY (02) - ENGINE

Схема запчастей Case CX470B - (02-06) - RADIATOR ASSY (02) - ENGINE
39
15
49
11
60
41
22
66
14
54
52
8
23
29
58
33
48
50
16
47
51
61
2
34
6
18
13
28
24
3
1
27
38
9
7
5
43
19
42
26
67
62
64
46
44
37
45
31
3
12
35
57
56
20
53
59
68
36
21
30
40
2
63
55
25
10
17
65
FIT
1:1
100%

Артикул

Название

Примечание

Количество

1

KTH11420

RADIATOR

Incl. 2 - 68

1шт.

2

LN002450

RADIATOR

1шт.

3

LE015870

SEAL PROTECTION

1шт.

4

LE015880

SEAL PROTECTION

2шт.

5

LG006980

STRIP-GASKET

2шт.

6

TR00521

RADIATOR CAP

1шт.

7

156602A1

COCK

1шт.

8

LK005540

PLUG

1шт.

9

LA00804

CLIP

1шт.

11

LT001990

FRAME

1шт.

10

NSS

NOT SOLD SEPARAT

FRAME, Incl. 11 - 14

1шт.

12

LE015900

SEAL PROTECTION

1шт.

13

LE018190

SEAL PROTECTION

1шт.

14

LE018200

SEAL PROTECTION

2шт.

15

LA012760

BOLT,Spcl

4шт.

16

LA011260

WASHER

4шт.

17

LG005910

SEAL PROTECTION

4шт.

18

LH004680

COLLAR

4шт.

19

NSS

NOT SOLD SEPARAT

COOLER, OIL, Incl. 20 - 25

1шт.

20

LN002470

OIL COOLER

1шт.

21

LE018210

SEAL PROTECTION

1шт.

22

LE018220

SEAL PROTECTION

1шт.

23

LE015930

SEAL PROTECTION

2шт.

24

LE013330

SEAL PROTECTION

1шт.

25

LE018230

SEAL PROTECTION

1шт.

26

LA011080

BOLT

4шт.

27

LA011090

WASHER

4шт.

28

LG006040

RUBBER JOINT

4шт.

29

LH004950

COLLAR

4шт.

30

NSS

NOT SOLD SEPARAT

SHROUD, Incl. 31 - 33

1шт.

31

LW005810

SHROUD

1шт.

32

LE015940

SEAL PROTECTION

1шт.

33

LE015950

SEAL PROTECTION

1шт.

34

LA011840

BOLT

8шт.

35

NSS

NOT SOLD SEPARAT

PLATE, Incl. 36, 37

1шт.

36

LR017910

PLATE

1шт.

37

LE018240

SEAL PROTECTION

1шт.

38

LA011840

BOLT

2шт.

39

NSS

NOT SOLD SEPARAT

PLATE, Incl. 40 - 42

1шт.

40

LR017930

PLATE

1шт.

41

LE018250

SEAL PROTECTION

1шт.

42

LE018220

SEAL PROTECTION

1шт.

43

LA011840

BOLT

3шт.

44

LG006990

PROTECTOR

1шт.

45

LA012770

BOLT,Spcl

4шт.

46

KTH11440

SUPPORT

1шт.

47

LA012770

BOLT,Spcl

3шт.

48

KTH11450

SUPPORT

1шт.

49

LA012770

BOLT,Spcl

3шт.

50

LG007000

RADIATOR GRILLE

1шт.

51

156606A1

BOLT,Wing, M6

2шт.

52

LG007010

RADIATOR GRILLE

1шт.

53

156606A1

BOLT,Wing, M6

2шт.

54

KTH11480

AFTERCOOLER

Incl. 55 - 58

1шт.

55

LN002610

COOLER

1шт.

56

LA013060

NUT

NUT

1шт.

57

LA012770

BOLT,Spcl

If Used

6шт.

57

156606A1

BOLT,Wing, M6

If Used

4шт.

58

LG006290

RADIATOR GRILLE

Replaces LG007020

1шт.

59

156606A1

BOLT,Wing, M6

4шт.

60

150409A1

WASHER

If Used

4шт.

61

KTH11460

SUPPORT

1шт.

62

LA013070

FLANGE BOLT

BOLT, FLANGE, Replaces LA011840

4шт.

63

KTH11470

SUPPORT

1шт.

64

LA011840

BOLT

2шт.

65

LS004080

SUPPORT

1шт.

66

627-10035

BOLT,Hex, M10 x 1.5 x 35mm, Cl 10.9, Full Thd

If Used

4шт.

67

LN001690

COOLER

1шт.

68

LA012780

BOLT,Spcl

4шт.

69

LH005960

SPACER

SPACER, Not Shown

4шт.

Выбрано товаров: 70