Запчасти Case CX470B (08-78) - CONTROL VALVE (08) - HYDRAULICS

Схема запчастей Case CX470B - (08-78) - CONTROL VALVE (08) - HYDRAULICS
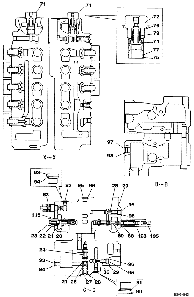
30
96
94
23
135
27
29
98
63
29
72
96
22
21
21
93
25
95
28
75
97
96
88
90
95
123
26
93
71
24
92
94
20
77
89
91
95
115
74
73
76
71
FIT
1:1
100%

Артикул

Название

Примечание

Количество

KTJ11660

CONTROL VALVE

Includes All Parts On Figures 08-76 - 08-80

1шт.

20

NSS

NOT SOLD SEPARAT

Spool, Valve

1шт.

21

163393A1

SPRING SEAT

2шт.

22

LG005500

SPRING COMPRESSOR

1шт.

23

LK00396

PLUG

1шт.

24

NSS

NOT SOLD SEPARAT

Spool, Valve

1шт.

25

LG00442

SPRING COMPRESSOR

1шт.

26

155224A1

O-RING

1шт.

27

163366A1

PLUG

1шт.

28

LJ00976

POPPET

2шт.

29

LG00417

COMPRESSION SPRING

3шт.

30

LJ013200

POPPET

1шт.

63

164457A1

VALVE

ASSEMBLY - relief, See Figure 08-79

1шт.

71

LJ00983

VALVE, PRESSURE RELI

EF Incl. 72 - 77

2шт.

72

NSS

NOT SOLD SEPARAT

Plug

1шт.

73

NSS

NOT SOLD SEPARAT

Spring

1шт.

74

NSS

NOT SOLD SEPARAT

Poppet

1шт.

75

NSS

NOT SOLD SEPARAT

Sleeve

1шт.

76

168801A1

O-RING

1шт.

77

154528A1

O-RING

1шт.

88

154517A1

O-RING

2шт.

89

NSS

NOT SOLD SEPARAT

Spool, Valve

1шт.

90

163369A1

PLUG

Incl. 91

1шт.

91

154475A1

O-RING

1шт.

92

163972A1

PLUG

Incl. 93, 94

2шт.

93

NSS

NOT SOLD SEPARAT

Plug

1шт.

94

154467A1

O-RING,10.8mm ID x 2.4mm Width

1шт.

95

163370A1

PLUG

Incl. 96

3шт.

96

154487A1

O-RING

1шт.

97

163970A1

PLUG

Incl. 98

1шт.

98

154503A1

O-RING

1шт.

115

155225A1

O-RING

1шт.

123

LR012890

CAP

1шт.

135

LK005110

PLUG

1шт.

Выбрано товаров: 34