Запчасти Case CX470B (08-80) - CONTROL VALVE (08) - HYDRAULICS

Схема запчастей Case CX470B - (08-80) - CONTROL VALVE (08) - HYDRAULICS
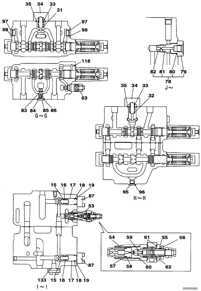
87
59
35
118
54
63
58
32
97
87
80
17
62
98
53
35
19
15
19
78
97
61
82
84
55
16
83
96
98
31
18
57
85
18
56
86
81
60
79
34
133
15
17
16
33
34
33
95
FIT
1:1
100%

Артикул

Название

Примечание

Количество

KTJ11660

CONTROL VALVE

Includes All Parts On Figures 08-76 - 08-80

1шт.

15

LJ00727

VALVE POPPET

2шт.

16

LG00341

SPRING

2шт.

17

LH00251

SPACER

2шт.

18

154507A1

O-RING

2шт.

19

153987A1

BACK-UP RING

2шт.

31

LJ00978

POPPET

1шт.

32

LJ00979

POPPET

1шт.

33

164497A1

SPRING

2шт.

34

LH004510

FLANGE

2шт.

35

154575A1

O-RING

2шт.

53

LJ00981

VALVE, PRESSURE RELI

EF Incl. 54 - 62

1шт.

54

LBQ7916

O-RING

1шт.

55

155222A1

O-RING

1шт.

56

159985A1

BACK-UP RING

1шт.

57

154497A1

O-RING

1шт.

58

153976A1

BACK-UP RING

1шт.

59

154470A1

O-RING

1шт.

60

LBQ7916

O-RING

1шт.

61

154538A1

O-RING

2шт.

62

154462A1

O-RING

1шт.

63

164457A1

VALVE

ASSEMBLY - relief, See Figure 08-79

1шт.

78

LK00303

PLUG

Incl. 79 - 82

1шт.

79

LK00322

PLUG

1шт.

80

154487A1

O-RING

1шт.

81

155086A1

O-RING

1шт.

82

154458A1

O-RING

1шт.

83

LJ00984

POPPET

1шт.

84

156026A1

SPRING

1шт.

85

155464A1

PLUG

1шт.

86

155222A1

O-RING

1шт.

87

LH00250

CAP

3шт.

95

163370A1

PLUG

Incl. 96

1шт.

96

154487A1

O-RING

1шт.

97

163970A1

PLUG

Incl. 98

2шт.

98

154503A1

O-RING

2шт.

118

NSS

NOT SOLD SEPARAT

Ball

1шт.

133

LE01003

O-RING

1шт.

Выбрано товаров: 0