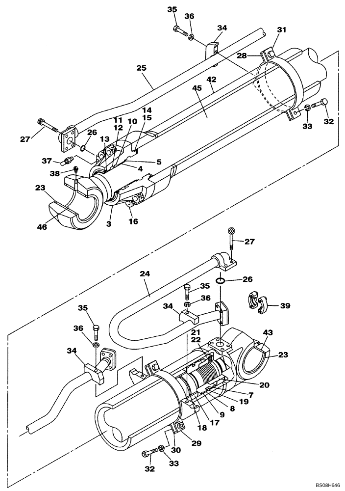
Запчасти Case CX470B (08-97) - CYLINDER ASSY - ARM (KTV12720) (08) - HYDRAULICS

Схема запчастей Case CX470B - (08-97) - CYLINDER ASSY - ARM (KTV12720) (08) - HYDRAULICS
13
5
20
22
23
10
12
21
28
9
29
39
36
35
37
27
23
4
35
43
7
18
36
27
38
32
45
30
25
33
42
15
46
32
16
33
31
34
26
35
8
34
26
34
11
19
36
3
17
14
24
FIT
1:1
100%

Артикул

Название

Примечание

Количество

KTV12720

HYDRAULIC CYLINDER

Arm, Incl. 3 - 46

1шт.

3

NSS

NOT SOLD SEPARAT

Head, Cylinder

1шт.

4

LA00624

LOCKING RING

1шт.

5

LMU0120

RING

1шт.

7

LJ00989

PISTON

1шт.

8

LE012470

SCRAPER RING

2шт.

9

LE00639

SEALING STRIP

2шт.

10

LE012410

RING

1шт.

11

LE015200

O-RING

1шт.

12

LE00633

BACK-UP RING

1шт.

13

LE015210

OIL SCRAPER RING

1шт.

14

154861A1

O-RING

1шт.

15

LE00636

BACK-UP RING

1шт.

16

108R030W100N

BOLT

8шт.

17

LE01007

WIPER SEAL

1шт.

18

LE01008

OIL SCRAPER RING

1шт.

19

LE00637

RING

1шт.

20

LA00799

NUT

1шт.

21

LPU0095

BALL

1шт.

22

LUU0144

SCREW

1шт.

23

LE00948

SEAL

4шт.

24

LR01136

HYD TUBE

1шт.

25

LR01137

HYD TUBE

1шт.

26

154579A1

O-RING

2шт.

27

LA00751

BOLT,Hex Skt Hd

8шт.

28

LD001700

CLAMP BRACKET

1шт.

29

LD001570

CLAMP BRACKET

1шт.

30

LD001580

CLAMP BRACKET

1шт.

31

LD00025

CLAMP BRACKET

1шт.

32

158131A1

BOLT,High Strength, M10 x 1.5 x 35mm, Cl 10.9

4шт.

33

156227A1

WASHER

4шт.

34

LS003200

HALF-FLANGE

3шт.

35

153910A1

BOLT,High Strength, Hex, M14 x 80mm

3шт.

36

892-16014

LOCK WASHER,M14, Hvy

1шт.

37

LJ00624

BLEEDER

1шт.

38

153912A1

LUBE NIPPLE,90 Degree, 1/8"-27 NPT x 21.5mm lg

1шт.

39

LK005150

HALF-FLANGE

2шт.

42

NSS

NOT SOLD SEPARAT

Tube, Cylinder

1шт.

43

KTV1125

SELF LUB RING

1шт.

45

NSS

NOT SOLD SEPARAT

Rod, Piston

1шт.

46

KTV1125

SELF LUB RING

1шт.

-

LZ008300

SEAL KIT

Not illustrated

1шт.

Выбрано товаров: 42