Запчасти Case CX470B (09-04) - TURNTABLE - ACCESS COVERS (09) - CHASSIS

Схема запчастей Case CX470B - (09-04) - TURNTABLE - ACCESS COVERS (09) - CHASSIS
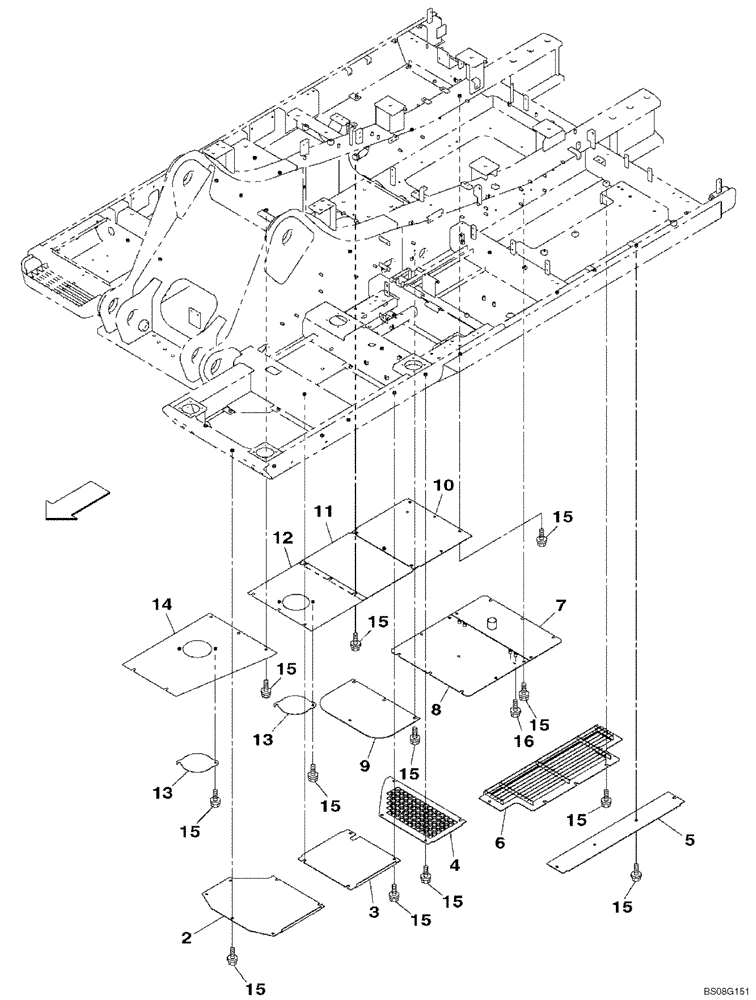
6
15
15
16
5
12
7
15
14
15
9
15
4
15
15
11
8
2
15
15
10
15
13
15
15
3
13
FIT
1:1
100%

Артикул

Название

Примечание

Количество

2

KTB11810

COVER

COVER

1шт.

3

KTB11860

COVER

COVER

1шт.

4

KTB11870

SIEVE

COVER

1шт.

5

KTB11880

COVER

COVER

1шт.

6

KTB12600

SIEVE

COVER

1шт.

7

KTB10720

COVER

1шт.

8

KTB10730

COVER

1шт.

9

KTB0918

PAD

1шт.

10

KTB11900

COVER

COVER

1шт.

11

KTB11910

COVER

COVER

1шт.

12

KTB11920

COVER

COVER

1шт.

13

KRB10520

COVER

2шт.

14

KTB11930

COVER

COVER

1шт.

15

158919A1

CAPTIVE WASHER SCREW,Hex Wshr Hd, M12 x 1.75 x 35mm, Cl 10.9, Spcl

60шт.

16

168074A1

SCREW,Hex, M12 x 35mm, Spcl, Cl 10.9

4шт.

Выбрано товаров: 15