Запчасти Case CX470B (09-08[01]) - MONOBLOCK BOOM - 6.55 M (09) - CHASSIS

Схема запчастей Case CX470B - (09-08[01]) - MONOBLOCK BOOM - 6.55 M (09) - CHASSIS
21
2
27
23
24
19
1
22
19
18
24
25
27
18
26
22
26
20
FIT
1:1
100%

Артикул

Название

Примечание

Количество

1

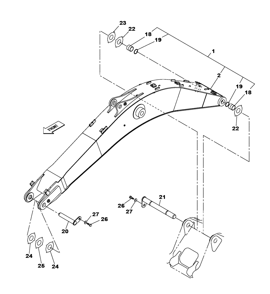
KTV16450

BOOM

Assembly, Inc. 2, 18, 19, Start Serial: N9EAS1137

1шт.

1

KTV16450

BOOM

, Start Serial: NASAS1192

1шт.

2

NSS

NOT SOLD SEPARAT

1шт.

18

KTV1172

BUSHING

2шт.

19

163003A1

SEAL

2шт.

20

KTV16330

PIN

, Start Serial: N9EAS1137

1шт.

20

KTV16330

PIN

, Start Serial: NASAS1192

1шт.

21

KTV16340

PIN

, Start Serial: N9EAS1137

1шт.

22

KTV10730

ADJUSTING PLATE

2шт.

23

KTV10740

ADJUSTING PLATE

1шт.

21

KTV16340

PIN

, Start Serial: NASAS1192

1шт.

24

KTV10750

ADJUSTING PLATE

2шт.

25

KTV10760

ADJUSTING PLATE

1шт.

26

102R020Y035R

BOLT

M20 x 35

2шт.

27

KTV1185

SPACER

2шт.

Выбрано товаров: 15