Запчасти Case CX470B (09-08[02]) - MONOBLOCK BOOM (7.00 M) (09) - CHASSIS

Схема запчастей Case CX470B - (09-08[02]) - MONOBLOCK BOOM (7.00 M) (09) - CHASSIS
2
22
21
1
18
23
19
27
26
2
25
26
24
20
22
19
18
27
24
FIT
1:1
100%

Артикул

Название

Примечание

Количество

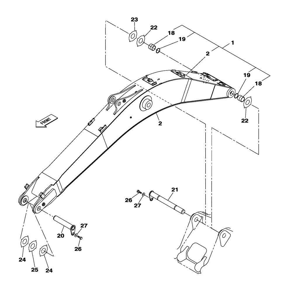
1

KTV12460

BOOM

1шт.

Include(s) 2, 18, 19

1шт.

2

NSS

NOT SOLD SEPARAT

1шт.

18

KTV1172

BUSHING

2шт.

19

163003A1

SEAL

2шт.

20

KTV1255

PIN

1шт.

21

KTV1256

PIN

1шт.

22

KTV10730

ADJUSTING PLATE

2шт.

23

KTV10740

ADJUSTING PLATE

1шт.

24

KTV10750

ADJUSTING PLATE

2шт.

25

KTV10760

ADJUSTING PLATE

1шт.

26

102R020Y035R

BOLT

M20 x 35

2шт.

27

KTV1185

SPACER

2шт.

Выбрано товаров: 13