Запчасти Case CX470B (02-12) - CYLINDER HEAD (02) - ENGINE

Схема запчастей Case CX470B - (02-12) - CYLINDER HEAD (02) - ENGINE
8c
8a
58b
5b
5a
58a
1
8d
8b
4
57
8b
4
FIT
1:1
100%

Артикул

Название

Примечание

Количество

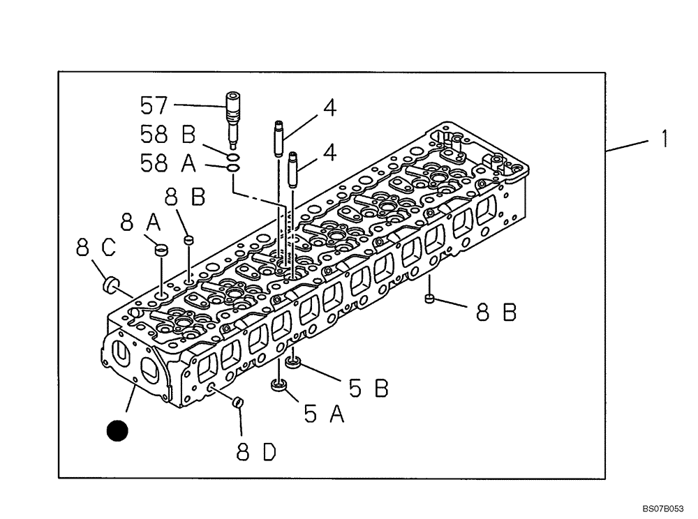
1

84160077

CYLINDER HEAD

CYLINDER HEAD, Incl. 4 - 58B, Replaces 87600409

1шт.

1

47607709R

REMAN-CYLINDER HEAD

Complete Cylinder Head With Valves

1шт.

1

47607709C

CORE-CYLINDER HEAD

Return Number

1шт.

1

47828375R

REMAN-CYLINDER HEAD

Complete Cylinder Head With Valves

1шт.

1

47828375C

CORE-CYLINDER HEAD

Core Return Number

1шт.

4

87601204

VALVE GUIDE

24шт.

5a

87601209

SEAL

Exhaust

12шт.

5b

87601223

SEAL

Inlet

12шт.

8a

289076A1

CUP

OD=25

6шт.

8b

76609741

PLUG

OD=18

12шт.

8c

355144A1

RING

OD=36

6шт.

8d

71455287

PLUG

OD=20

12шт.

57

87384351

NOZZLE HOLDER

6шт.

58a

72110172

SEAL

6шт.

58b

87601336

GASKET

6шт.

Выбрано товаров: 15