Запчасти Case CX470B (02-46) - MOTOR, ELECTRIC (02) - ENGINE

Схема запчастей Case CX470B - (02-46) - MOTOR, ELECTRIC (02) - ENGINE
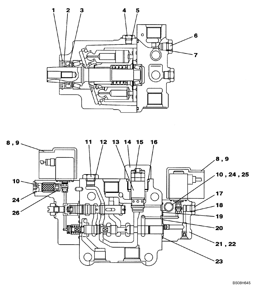
18
22
9
24
5
26
17
9
10
25
23
11
8
2
10
4
14
24
6
21
1
15
20
12
7
19
8
3
13
16
FIT
1:1
100%

Артикул

Название

Примечание

Количество

0

KWH0018

ELECTRIC MOTOR

Incls. 1-26

1шт.

1

LE015740

SNAP RING

1шт.

2

LH005090

SPACER

1шт.

3

LE015750

OIL SEAL

1шт.

4

LK005780

PLUG

1шт.

5

LE015760

O-RING

1шт.

6

LK005790

PLUG

4шт.

7

LE015770

O-RING

4шт.

8

LW005290

COVER

2шт.

9

LA011270

BOLT,Spcl

4шт.

10

LJ015430

FILTER SCREEN

2шт.

11

LK005800

PLUG

1шт.

12

LE015780

O-RING

1шт.

13

LJ015440

VALVE PRESSURE RELIE

1шт.

14

LK005810

PLUG

1шт.

15

LG006300

SPRING

1шт.

16

LE015790

O-RING

1шт.

17

LK005780

PLUG

1шт.

18

LE015760

O-RING

1шт.

19

LE015810

O-RING

1шт.

20

LE015820

O-RING

1шт.

21

LJ015450

VALVE PRESSURE RELIE

1шт.

22

LA011280

BOLT,Spcl

4шт.

23

LE015830

O-RING

1шт.

24

LE015780

O-RING

2шт.

25

LE015850

O-RING

1шт.

26

LE015860

O-RING

1шт.

Выбрано товаров: 27