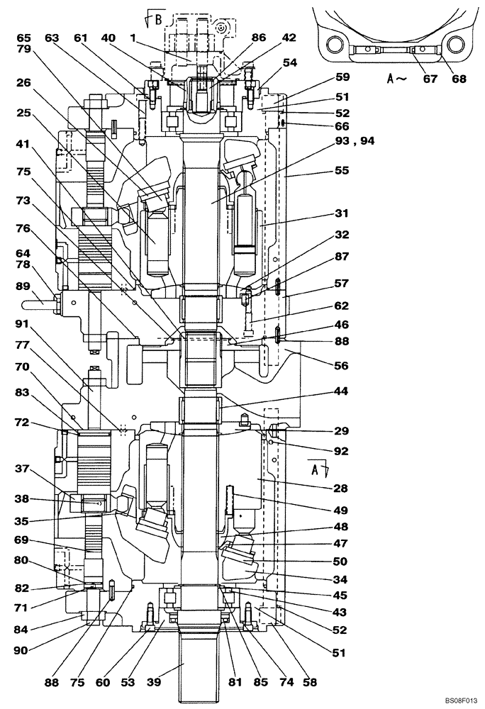
Запчасти Case CX700B (08-29) - HIGH PRESSURE PUMP (08) - HYDRAULICS

Схема запчастей Case CX700B - (08-29) - HIGH PRESSURE PUMP (08) - HYDRAULICS
60
77
78
88
74
89
52
67
50
66
57
37
35
70
94
79
26
80
42
82
83
43
62
49
91
45
81
92
31
47
52
44
40
69
63
75
32
64
85
61
48
76
38
68
88
75
56
39
59
51
65
90
53
58
86
34
51
1
41
84
87
25
55
93
71
72
54
73
29
46
28
FIT
1:1
100%

Артикул

Название

Примечание

Количество

0

KWJ11250

HYDRAULIC PUMP

Incl. 1 - 94, Alson Fig. 08-30 Ref. 72 - 137, 08-31 Ref. 138 - 215, 08-32 Ref. 216-237

1шт.

1

LJ017020

HYDRAULIC PUMP

PUMP, GEAR, See Fig. 08-30

1шт.

24

LJ017030

PISTON

PISTON, Incl. 25, 26

2шт.

25

NSS

NOT SOLD SEPARAT

18шт.

26

NSS

NOT SOLD SEPARAT

18шт.

27

LS00092

CYLINDER BLOCK

Incl. 28, 29

1шт.

28

NSS

NOT SOLD SEPARAT

1шт.

29

NSS

NOT SOLD SEPARAT

1шт.

30

LS00091

CYLINDER BLOCK

Incl. 31, 32

1шт.

31

NSS

NOT SOLD SEPARAT

1шт.

32

NSS

NOT SOLD SEPARAT

1шт.

33

LR00421

PLATE

Incl. 34, 35

2шт.

34

NSS

NOT SOLD SEPARAT

2шт.

35

NSS

NOT SOLD SEPARAT

2шт.

36

LA00959

SPECIAL PIN

Incl. 37, 38

2шт.

37

NSS

NOT SOLD SEPARAT

2шт.

38

NSS

NOT SOLD SEPARAT

2шт.

39

LB00425

GEAR SHAFT

1шт.

40

LB01016

SHAFT

1шт.

41

LB00429

SHAFT

1шт.

42

LK00489

UNION

1шт.

43

LB00706

BEARING, ROLLER, CYL

2шт.

44

LB01015

BEARING

2шт.

45

LH00203

SPACER

4шт.

46

LJ00582

HOLDER

1шт.

47

LR00761

PLATE

2шт.

48

LB00434

BUSHING

2шт.

49

LG00254

COMPRESSION SPRING

18шт.

50

TPM0021

HOUSING

2шт.

51

LS00257

SUPPORT

2шт.

52

LA00795

WASHER

8шт.

53

LW00263

COVER

1шт.

54

LW00264

COVER

1шт.

55

LW00458

HOUSING

12шт.

56

LW00262

COVER

1шт.

57

LW00459

COVER

1шт.

58

LA00591

BOLT,Hex Skt Hd

4шт.

59

LA00590

BOLT,Hex Skt Hd

4шт.

60

861-8020

HEX SOC SCREW,M8 x 20mm, Cl 12.9

4шт.

61

863-8030

HEX SOC SCREW,M8 x 30mm, Cl 12.9

4шт.

62

863-10075

HEX SOC SCREW,M10 x 75mm, 12.9

2шт.

63

108R010Y055N

BOLT

4шт.

64

155496A1

PLUG

2шт.

65

155471A1

PLUG

4шт.

66

LK00003

PLUG

31шт.

67

LK00230

PLUG

4шт.

68

LK00028

PLUG

5шт.

69

LJ01297

PISTON

2шт.

70

LG00266

STOP

2шт.

71

LG00265

STOP

2шт.

72

LE00607

O-RING

2шт.

73

LE018020

O-RING

1шт.

74

LE00606

O-RING

2шт.

75

LE018030

O-RING

4шт.

76

LE018040

O-RING

1шт.

77

LE013470

O-RING

19шт.

78

LE013410

O-RING

2шт.

79

LE013440

O-RING

2шт.

80

LE00608

O-RING

2шт.

81

LE00611

OIL SEAL

1шт.

82

153979A1

BACK-UP RING

2шт.

83

154047A1

BACK-UP RING

2шт.

84

829-1420

NUT,M20, Cl 10

4шт.

85

TMM0028

RING

2шт.

86

800-2128

SNAP RING,M28, Int

1шт.

87

LA00569

DOWEL

2шт.

88

738-1620

LOCK PIN,6mm OD x 20mm L, Slotted

5шт.

89

126R016SN

EYEBOLT

BOLT, EYE EYEBOLT, Replaces TUP0024

2шт.

90

LA00596

SCREW,Hex Skt

2шт.

91

LA00595

SCREW,Hex Skt

2шт.

92

LA00960

SCREW,Hex Skt

8шт.

93

NSS

NOT SOLD SEPARAT

1шт.

94

NSS

NOT SOLD SEPARAT

2шт.

Выбрано товаров: 73