Запчасти Case CX700B (08-70) - SWING MOTOR-DRIVE REDUCTION GEAR (08) - HYDRAULICS

Схема запчастей Case CX700B - (08-70) - SWING MOTOR-DRIVE REDUCTION GEAR (08) - HYDRAULICS
42
51
51
52
44
52
48
2
45
40
46
47
52
44
43
49
41
44
51
39
50
1
FIT
1:1
100%

Артикул

Название

Примечание

Количество

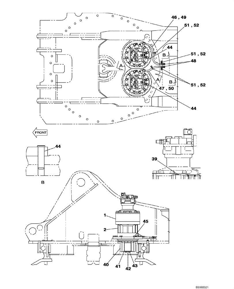
1

KWC10010

MOTO-REDUCTION GEAR

See Figure 08-72

2шт.

2

KUP0048

REDUCER

See Figure 08-71

2шт.

39

800-1145

SNAP RING,M45, Ext

2шт.

40

KUC0013

PINION

2шт.

41

150285A1

PLATE, LOCKING

2шт.

42

167069A1

WASHER

W125

2шт.

43

627-16040

BOLT,Hex, M16 x 2 x 40mm, Cl 10.9, Full Thd

4шт.

44

150317A1

HEADED PIN,24mm OD x 90mm L

2шт.

45

166477A1

BOLT,Sems, M24 x 90mm

M24 x 90

24шт.

46

KWJ10020

HOSE ASSY.,12.70 mm ID x 700.00 mm

1шт.

47

KWJ10030

HOSE ASSY.,12.70 mm ID x 450.00 mm

1шт.

48

KHP0578

PLUG

2шт.

49

158060A1

PLASTIC-RUBBER TUBE

500 mm

1шт.

50

158059A1

PLASTIC-RUBBER TUBE

300 mm

1шт.

51

KHR2584

CLAMP

4шт.

52

KHJ1215

BOLT,Spcl

M8 x 25

4шт.

Выбрано товаров: 16