Качественные детали и логистика
Оригинальные и аналоговые запчасти с доставкой по России, Казахстану и Беларуси
©2022 PartSell ООО "Система" ИНН 2463123282 ОГРН 1212400004838
Центральный офис: г. Красноярск, Академика Киренского, д.87, пом.4
Телефон: 8 (800) 777-65-74 Email: zakaz@partsell.ru
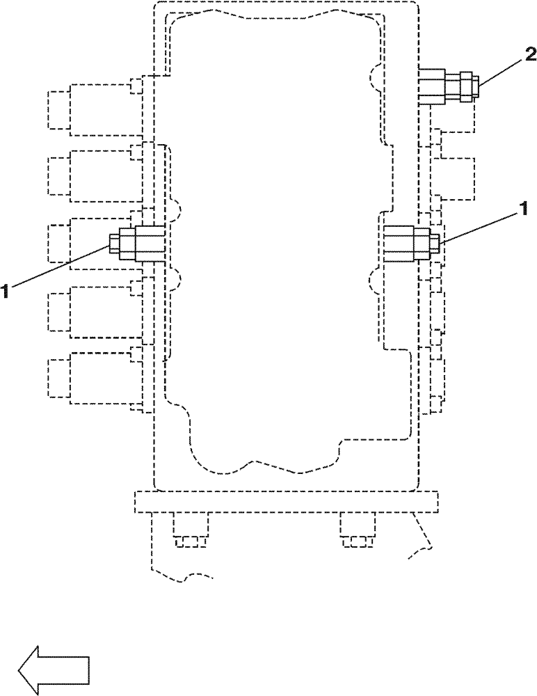
(08-82) - SERVICE VALVE PORT RELIEF
№
Артикул
Название
Примечание
Количество
1
KUJ0164
VALVE, PRESSURE RELI
EF
2шт.
2
KUJ0165
1шт.
Выбрано товаров: 0