Запчасти Case CX700B (09-01) - TURNTABLE BEARING (09) - CHASSIS

Схема запчастей Case CX700B - (09-01) - TURNTABLE BEARING (09) - CHASSIS
6
2
12
10
11
3
8
5
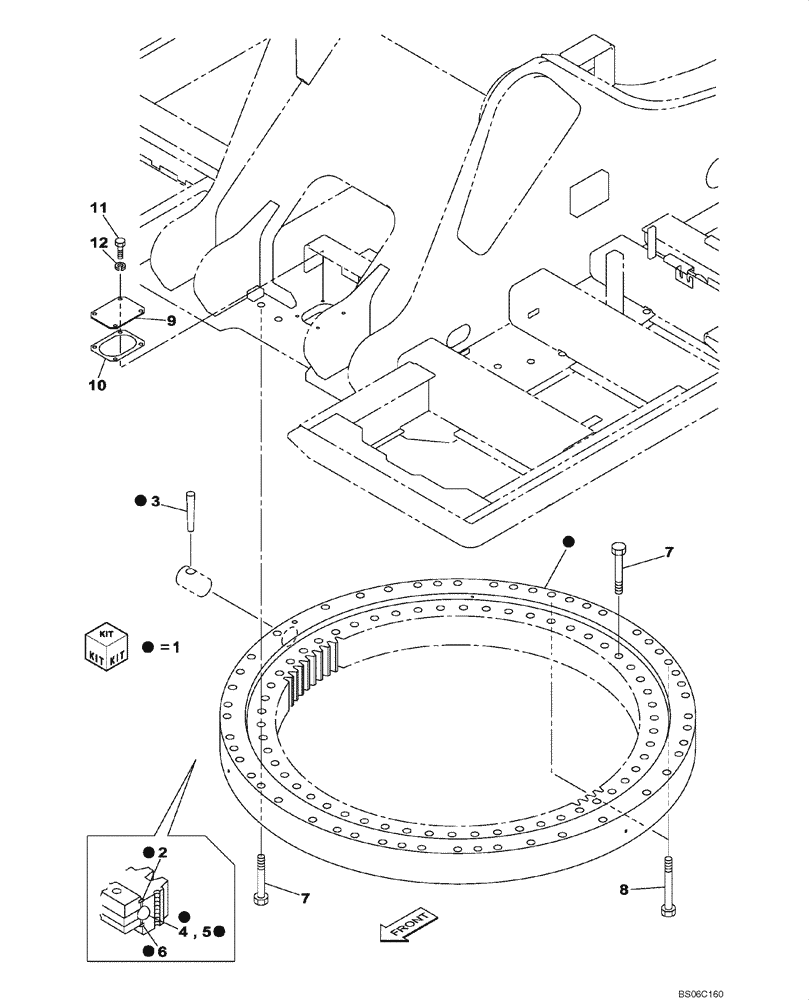
1
7
9
7
4
FIT
1:1
100%

Артикул

Название

Примечание

Количество

1

KUB10010

RING GEAR

Incl. 2 - 6

1шт.

2

KUB0036

SEALING RING

SEALRING

1шт.

3

KUB0032

PIN

1шт.

4

NSS

NOT SOLD SEPARAT

Bearing, Ball

65шт.

5

NSS

NOT SOLD SEPARAT

Spacer

65шт.

6

KUB0059

SEALING RING

SEALRING

1шт.

7

KHB10040

BOLT

M30 x 195

102шт.

8

KHB10050

BOLT

M30 x 195

2шт.

9

KUB0026

COVER

1шт.

10

KUB0027

GASKET

1шт.

11

627-12025

BOLT,Hex, M12 x 1.75 x 25mm, Cl 10.9, Full Thd

4шт.

12

183-112VR

SPRING WASHER

SW12

4шт.

Выбрано товаров: 12