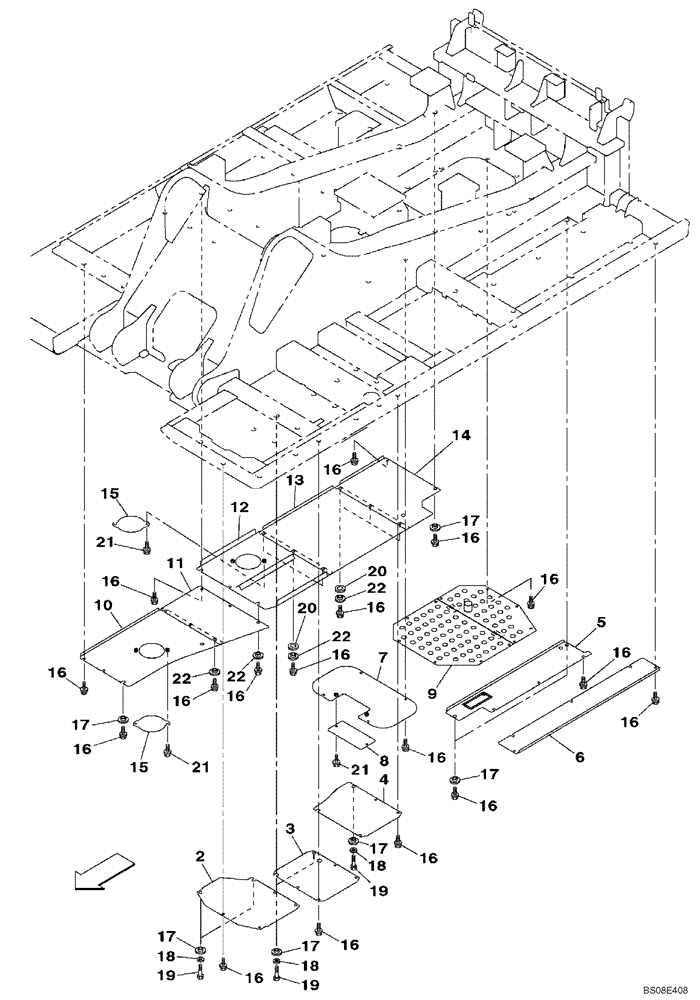
Запчасти Case CX700B (09-05) - TURNTABLE - ACCESS COVERS (09) - CHASSIS

Схема запчастей Case CX700B - (09-05) - TURNTABLE - ACCESS COVERS (09) - CHASSIS
16
20
17
6
17
16
19
7
15
16
16
21
20
9
2
18
18
16
18
16
12
22
21
10
17
16
16
15
17
16
17
22
17
16
4
11
16
19
16
3
14
22
16
22
21
5
13
16
16
16
19
16
8
FIT
1:1
100%

Артикул

Название

Примечание

Количество

2

KWB10490

COVER

1шт.

3

KWB10500

COVER

1шт.

4

KWB10510

COVER

1шт.

5

KWB10040

COVER

1шт.

6

KWB10050

COVER

1шт.

7

KWB10060

COVER

1шт.

8

KWB10070

COVER

1шт.

9

KUB10460

COVER

1шт.

10

KWB10370

COVER

1шт.

11

KWB10380

COVER

1шт.

12

KWB10111

COVER

1шт.

13

KWB10120

COVER

1шт.

14

KWB10650

COVER

Replaces KWB10130

1шт.

15

KRB10520

COVER

2шт.

16

162278A1

BOLT

53шт.

17

KUB10470

SPACER

10шт.

18

150811A1

WASHER

6шт.

19

827-12050

BOLT,Hex, M12 x 1.75 x 50mm, Cl 10.9

6шт.

20

KHB10640

WASHER

6шт.

21

167893A1

BOLT

6шт.

22

KUB10480

SPACER

8шт.

23

KWB10710

SEAL

Not Shown

2шт.

Выбрано товаров: 22