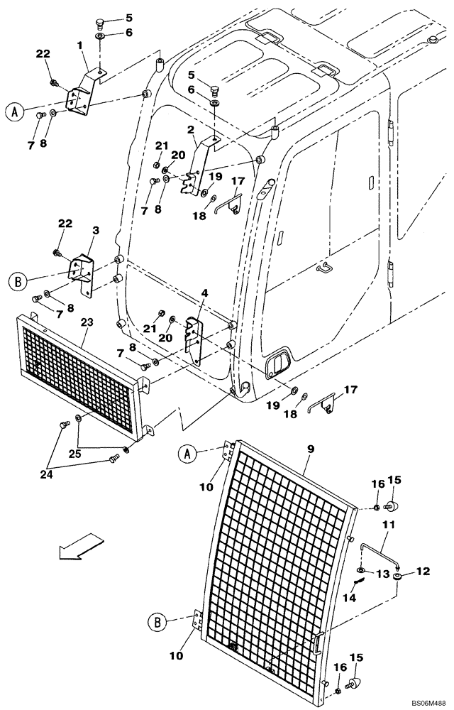
Запчасти Case CX700B (09-32) - GUARD, BRUSH - CAB BRUSH SCREEN (09) - CHASSIS

Схема запчастей Case CX700B - (09-32) - GUARD, BRUSH - CAB BRUSH SCREEN (09) - CHASSIS
21
8
20
1
16
24
8
6
20
3
5
5
7
18
13
10
22
15
2
15
18
17
11
9
10
12
7
25
17
4
14
6
7
19
7
19
8
8
21
23
22
16
FIT
1:1
100%

Артикул

Название

Примечание

Количество

1

KHN16931

BRACKET

1шт.

2

KHN16940

BRACKET

1шт.

3

KHN16950

BRACKET

1шт.

4

KHN16960

BRACKET

1шт.

5

102R016Y025R

BOLT

2шт.

6

150814A1

WASHER,17mm ID x 32mm OD x 4.5mm Thk

2шт.

7

627-12025

BOLT,Hex, M12 x 1.75 x 25mm, Cl 10.9, Full Thd

4шт.

8

150811A1

WASHER

4шт.

9

KHN16861

STONEGUARD

Incl. 10

1шт.

10

KHN16890

HINGE

2шт.

11

KHN19980

STAY

STAY, Replaces KHN16910

1шт.

12

KHN16920

GROMMET

1шт.

13

895-11010

WASHER,11mm ID x 20mm OD x 2mm Thk

1шт.

14

153181A1

COTTER PIN

1шт.

15

151108A1

STOP

2шт.

16

KBH0446

NUT

2шт.

17

KHN16970

LEVER

2шт.

18

896-11016

WASHER,17.5mm ID x 30mm OD x 4mm Thk

2шт.

19

157560A1

WAVE WASHER

2шт.

20

150811A1

WASHER

2шт.

21

829-1412

NUT,M12, Cl 10.9

2шт.

22

166351A1

BOLT,Sems, M10 x 20mm

4шт.

23

KHN14810

STONEGUARD

1шт.

24

627-12025

BOLT,Hex, M12 x 1.75 x 25mm, Cl 10.9, Full Thd

4шт.

25

150811A1

WASHER

4шт.

Выбрано товаров: 25