Запчасти Case CX700B (09-48) - MONOBLOCK BOOM (6.60 M) (09) - CHASSIS

Схема запчастей Case CX700B - (09-48) - MONOBLOCK BOOM (6.60 M) (09) - CHASSIS
27
23
25
25
20
24
14
10
10
2
29
22
28
28
24
26
14
26
20
21
15
FIT
1:1
100%

Артикул

Название

Примечание

Количество

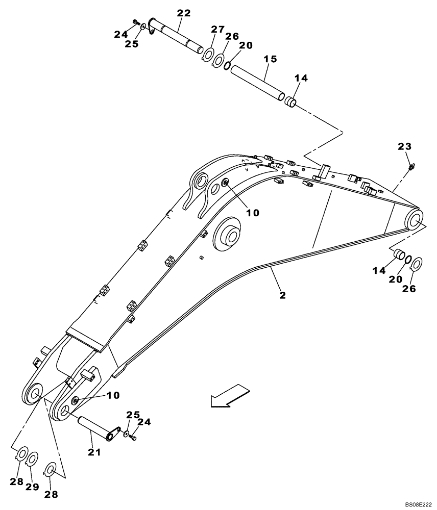
KWV10200

BOOM

Incl. 2, 10, 14, 15

1шт.

2

NSS

NOT SOLD SEPARAT

1шт.

10

NSS

NOT SOLD SEPARAT

2шт.

14

KWV0023

SELF LUB RING

2шт.

15

KWV10010

TUBE

1шт.

20

KHV10010

DUST CAP

2шт.

21

KWV0047

PIN,60mm OD x 460mm L

1шт.

22

KWV0048

PIN

1шт.

23

153630A1

LUBE NIPPLE

1шт.

24

102R020Y035R

BOLT

M20 x 35

2шт.

25

KWV0090

SPACER

2шт.

26

KWV10500

ADJUSTING PLATE

2 mm

1шт.

27

KWV0096

ADJUSTING PLATE

1шт.

28

KWV10510

ADJUSTING PLATE

2 mm

1шт.

29

KWV0097

ADJUSTING PLATE

1шт.

Выбрано товаров: 15