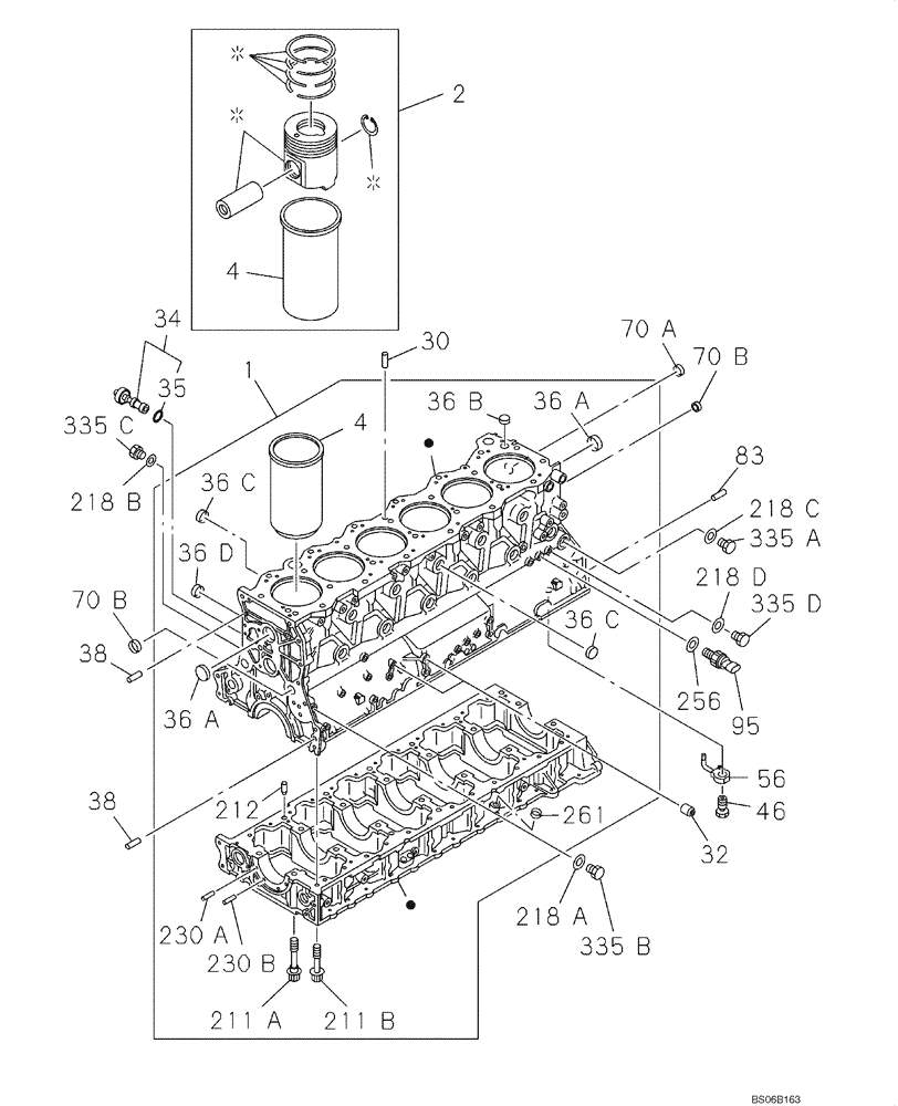
Запчасти Case CX700B (02-13) - CYLINDER BLOCK (02) - ENGINE

Схема запчастей Case CX700B - (02-13) - CYLINDER BLOCK (02) - ENGINE
35
32
1
335b
38
70b
261
34
46
335c
4
211b
30
230a
95
335a
70b
4
335d
256
218c
36a
36d
36a
212
230b
218b
38
2
218a
36b
211a
36c
36c
70a
83
56
218d
FIT
1:1
100%

Артикул

Название

Примечание

Количество

1

87384362

CYLINDER BLOCK

Incl. 4, 36A - 36D, 211A, 211B, 212, 230A, 230B, 161

1шт.

2

87384363

KIT, LINER, PISTON R

OD Grade=1X; Incl. 4 (OD Grade=1X)

6шт.

2

87384366

KIT, LINER, PISTON R

OD Grade=3X; Incl. 4 (OD Grade=3X)

6шт.

4

87384367

LINER, ENGINE CYLIND

OD Grade=1X, ID=Non

6шт.

4

87384368

LINER, ENGINE CYLIND

OD Grade=3X, ID=Non

6шт.

30

289771A1

PIN

OD 10

3шт.

32

288582A1

DOWEL

2шт.

34

288571A1

VALVE, PRESSURE RELI

EF Incl. 35

1шт.

35

288583A1

GASKET

1шт.

36a

87398694

CUPEL

OD 45

4шт.

36b

289076A1

CUP

OD 25

1шт.

36c

288553A1

PLUG

OD 40

13шт.

36d

288584A1

PLUG

OD 40

2шт.

38

289771A1

PIN

OD 10 L18

2шт.

46

288585A1

BOLT

6шт.

56

288586A1

LUBE OIL NOZZLE

LUBE OIL JET NOZZLE

6шт.

70a

362152A1

CUP

OD 32

1шт.

70b

289076A1

CUP

OD 25

4шт.

83

288587A1

PIN

2шт.

95

87336452

SENSOR

Engine Oil Pressure

1шт.

211a

288589A1

BOLT

M18 x 150

14шт.

211b

288590A1

BOLT

M12 x 114

28шт.

212

288591A1

PIN

2шт.

218a

289092A1

GASKET

ID 10.2

1шт.

218b

289093A1

PACKING

ID 12.2

1шт.

218c

288592A1

GASKET

ID 22

1шт.

218d

288565A1

GASKET

ID 14.2 - OD 19.2

1шт.

230a

288593A1

PIN

L25

1шт.

230b

288594A1

PIN

OD 5 L10

1шт.

256

288565A1

GASKET

ID 14.2 - OD 25

1шт.

261

357413A1

RING

4шт.

335a

288595A1

PLUG

M22 x 12

2шт.

335b

288569A1

PLUG

M10 x 7

1шт.

335c

288596A1

PLUG

M12 x 9

1шт.

335d

289998A1

PLUG

M14 x 9

2шт.

Выбрано товаров: 35