Качественные детали и логистика
Оригинальные и аналоговые запчасти с доставкой по России, Казахстану и Беларуси
©2022 PartSell ООО "Система" ИНН 2463123282 ОГРН 1212400004838
Центральный офис: г. Красноярск, Академика Киренского, д.87, пом.4
Телефон: 8 (800) 777-65-74 Email: zakaz@partsell.ru
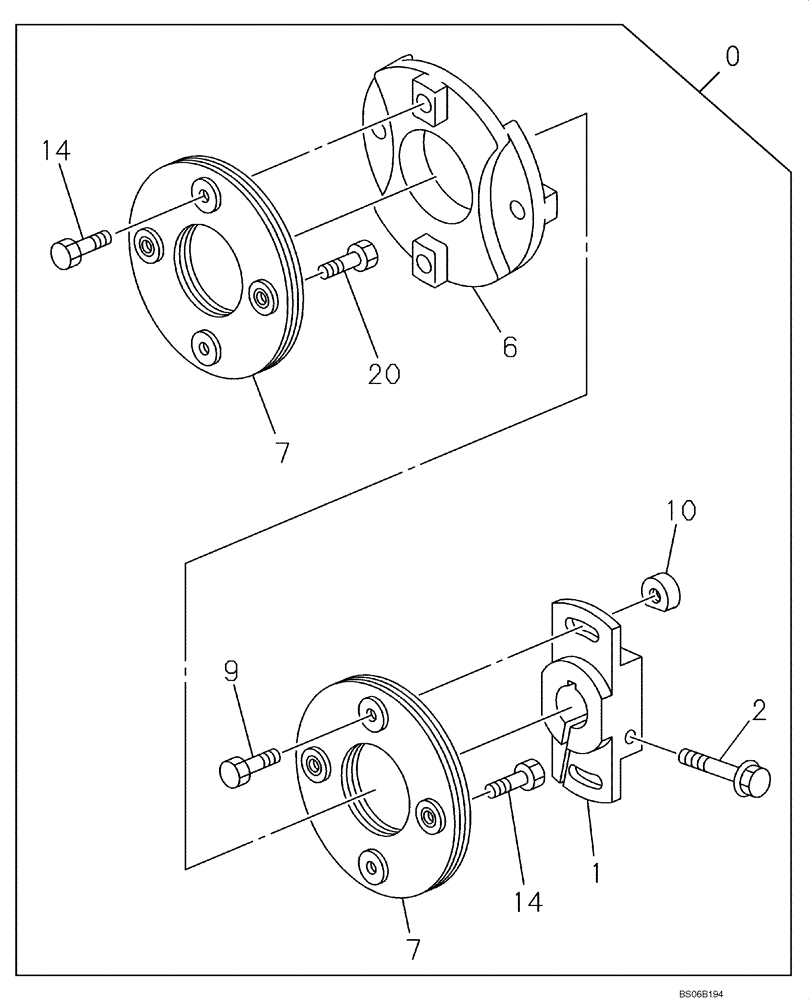
(03-09) - COUPLING - FUEL INJECTION PUMP
№
Артикул
Название
Примечание
Количество
0
87385634
COUPLING
Incl. 1 - 20
1шт.
1
87386239
FLANGE
2
87386241
BOLT
6
87386242
7
87386243
PLATE
2шт.
9
87386244
10
87386245
NUT
14
87386246
4шт.
20
87386247
Выбрано товаров: 0