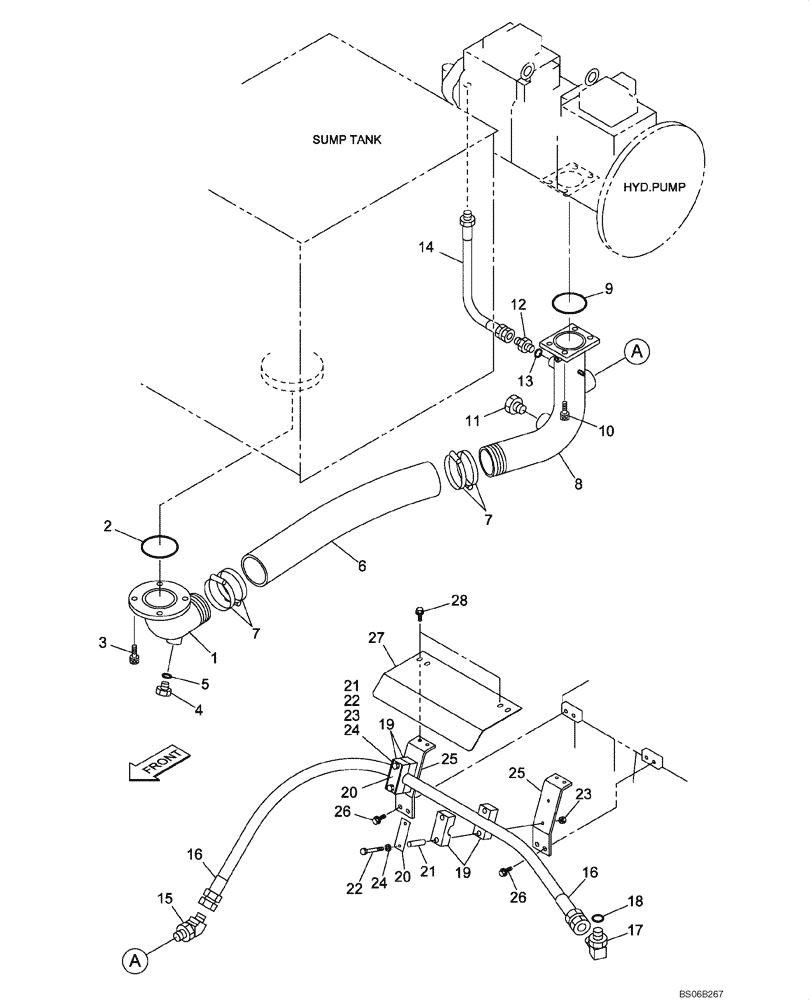
Запчасти Case CX700B (08-04) - HYDRAULICS - PUMP SUCTION LINE (08) - HYDRAULICS

Схема запчастей Case CX700B - (08-04) - HYDRAULICS - PUMP SUCTION LINE (08) - HYDRAULICS
7
18
20
21
2
17
16
23
26
20
13
22
24
21
26
28
5
19
10
4
15
16
27
24
9
11
23
7
1
25
25
12
8
6
3
14
19
22
FIT
1:1
100%

Артикул

Название

Примечание

Количество

1

KUJ0145

HYD TUBE,93.2 mm ID x 101.6 mm OD

Incl. 2

1шт.

2

154733A1

O-RING

4шт.

3

862-16035

HEX SOC SCREW,M16 x 35mm, Cl 12.9

1шт.

4

162659A1

PLUG

Incl. 5

1шт.

5

154523A1

O-RING

4шт.

6

KHJ10090

HYDRAULIC HOSE

800 mm

1шт.

7

KHJ1261

CLAMP

4шт.

8

KWJ10360

HYD TUBE,93.2 mm ID x 101.6 mm OD

1шт.

9

154721A1

O-RING,99.4mm ID x 3.1mm Width

1шт.

10

862-16035

HEX SOC SCREW,M16 x 35mm, Cl 12.9

4шт.

11

162335A1

PLUG

1шт.

12

151654A1

HYD CONNECTOR,3/4" NPT O-Ring x 3/4" NPT

Incl. 13

1шт.

13

154503A1

O-RING

2шт.

14

KWJ10410

HYDRAULIC HOSE,19.05 mm ID x 600.00 mm

1шт.

15

157589A1

ELBOW

G 1/2

1шт.

16

KWJ10380

HYDRAULIC HOSE,38.10 mm ID x 1900.00 mm

1шт.

17

KHJ10080

ELBOW

G 1/4 x 1/2; Incl. 18

1шт.

18

154559A1

O-RING

1шт.

19

KUJ0035

HOSE CLAMP

4шт.

20

KUJ0034

SHEET

2шт.

21

KUJ0036

SPACER

4шт.

22

102R010Y110R

BOLT

M10 x 110

4шт.

23

829-1410

NUT,M10 x 1.5, Cl 10.9

4шт.

24

150409A1

WASHER

W M10

4шт.

25

KWJ10391

SUPPORT

BRACKET, Replaces KWJ10390

2шт.

26

152718A1

BOLT,Spcl, Hex Wshr, M12 x 25mm, Cl 10.9

4шт.

27

KWJ10410

HYDRAULIC HOSE,19.05 mm ID x 600.00 mm

1шт.

28

166052A1

BOLT

M10 x 25

4шт.

Выбрано товаров: 28